Оригинальные каталоги
| № | Номер | Наименование | Цена | |
|---|---|---|---|---|
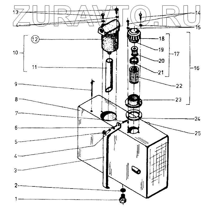
| 6757.00.00.00-02 | 6757.00.00.00-02 | Резервуар масляный | Нет в продаже |
|
| 1 | 6757.06.00.00 | Пробка | Нет в продаже |
|
| 2 | [Кольцо I А20х24 БДС3609-73] | Кольцо I А20х24 БДС3609-73 | Нет в продаже |
|
| 3 | 6757.04.00.00 | Скоба | Нет в продаже |
|
| 4 | [Шайба 2 8Н БДС833-82] | Шайба 2 8Н БДС833-82 | Нет в продаже |
|
| 5 | [Гайка М8-7Н БДС1262-72/5] | Гайка М8-7Н БДС1262-72/5 | Нет в продаже |
|
| 6 | [Шайба М8 БДС14494-78] | Шайба М8 БДС14494-78 | Нет в продаже |
|
| 7 | 6757.00.00.01 | Крюк | Нет в продаже |
|
| 8 | 6757.01.00.00-02 | Резервуар масляный | Нет в продаже |
|
| 9 | 6757.02.00.00 | Маслоуказатель | Нет в продаже |
|
| 10 | 6757.03.00.00 | Фильтр гидравлический | Нет в продаже |
|
| 11 | 6757.03.00.01 | Труба | Нет в продаже |
|
| 12 | 5566.00.00.00-01 | Фильтр гидравлический Ф1-20/63/К (КтМ 1148-01) | Нет в продаже |
|
| 13 | [Болт I М8х23-8g БДС1230-72/5,6] | Болт I М8х23-8g БДС1230-72/5,6 | Нет в продаже |
|
| 14 | [Винт I М5х16-8g БДС832-76/5,8] | Винт I М5х16-8g БДС832-76/5,8 | Нет в продаже |
|
| 15 | 2 5Н БДС833-82 | Шайба | Нет в продаже |
|
| 16 | 6757.05.00.00 | Горловина в сборе | Нет в продаже |
|
| 17 | 6747.1.02.01.00 | Пробка в сборе | Нет в продаже |
|
| 18 | 6747.1.02.01.01 | Пробка | Нет в продаже |
|
| 19 | 6747.1.02.01.02 | Вставка | Нет в продаже |
|
| 20 | 6747.1.02.01.01.00 | Фильтрующий элемент | Нет в продаже |
|
| 21 | 6747.1.02.01.04 | Пробка | Нет в продаже |
|
| 22 | 6747.02.02.00 | Сетка | Нет в продаже |
|
| 23 | 6747.05.00.01 | Горловина | Нет в продаже |
|
| 24 | 6747.1.00.00.01 | Уплотнение | Нет в продаже |
|
| 25 | 6757.04.00.02.01 | Лента резиновая | Нет в продаже |
|
6757.00.00.00-02
1
2
3
4
4
5
6
7
8
9
10
11
12
13
14
15
16
17
18
19
20
21
22
23
24
25
Содержащиеся в справочниках-каталогах запасные части и детали носят исключительно информационный характер