Оригинальные каталоги
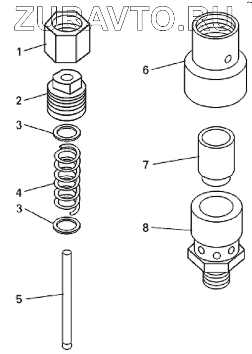
| № | Номер | Наименование | Цена | |
|---|---|---|---|---|
| 1 | 342444 | Гайка | Нет в продаже |
|
| 2 | 7549-1032158 | Втулка | Нет в продаже |
|
| 3 | 252037 | Шайба | Нет в продаже |
|
| 4 | 540-1712356 | Пружина | Нет в продаже |
|
| 5 | 7549-1032162 | Шток | Нет в продаже |
|
| 6 | 7549-1032153 | Корпус | Нет в продаже |
|
| 7 | 7549-1032150 | Клапан | Нет в продаже |
|
| 8 | 75125-3515055 | Седло клапана | Нет в продаже |
|
1
2
3
3
4
5
6
7
8
Содержащиеся в справочниках-каталогах запасные части и детали носят исключительно информационный характер