Назад

Оригинальные каталоги

zoom-in zoom-out enlarge shrink circle-right circle-left file-text2 info cart
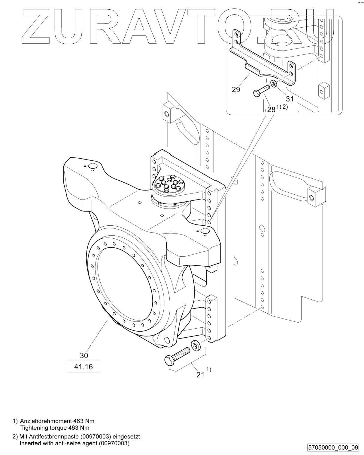
Номер Наименование Цена
21 57002174 Bolt and washer Нет в продаже
28 07132067 Capscrew, hex head Нет в продаже
29 57050442 Holder Нет в продаже
30 57002198 Link, assembled Нет в продаже
21
28
29
30
100%
Содержащиеся в справочниках-каталогах запасные части и детали носят исключительно информационный характер