Оригинальные каталоги
| № | Номер | Наименование | Цена | |
|---|---|---|---|---|
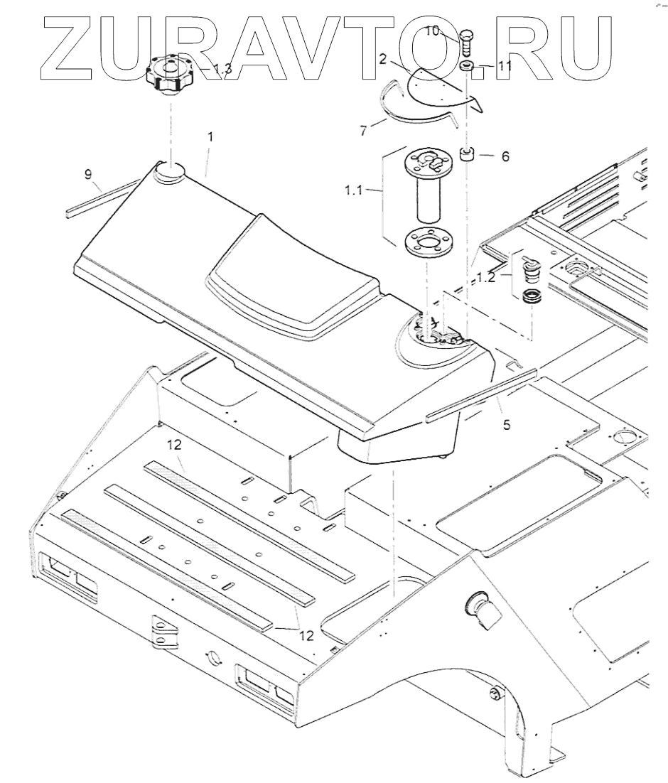
| 1 | 53827003 | Fuel tank | Нет в продаже |
|
| 1.1 | 05973086 | Level sending unit | Нет в продаже |
|
| 1.1.1 | 05973095 | Gasket | Нет в продаже |
|
| 1.2 | 05748524 | Kit. floater valve | Нет в продаже |
|
| 1.3 | 06550087 | Tank lock | Нет в продаже |
|
| 2 | 53827002 | Plate | Нет в продаже |
|
| 5 | 00652109 | Expanded rubber | Нет в продаже |
|
| 6 | 28140806 | Washer | Нет в продаже |
|
| 7 | 00652001 | Sealing section | Нет в продаже |
|
| 9 | 00652109 | Expanded rubber | Нет в продаже |
|
| 10 | 07140641 | Hexagon bolt | Нет в продаже |
|
| 11 | 08751064 | Spring washer | Нет в продаже |
|
| 12 | 00652088 | Expanded rubber | Нет в продаже |
|
1
1.1
1.2
1.3
2
5
6
7
9
10
11
12
Содержащиеся в справочниках-каталогах запасные части и детали носят исключительно информационный характер