Оригинальные каталоги
| № | Номер | Наименование | Цена | |
|---|---|---|---|---|
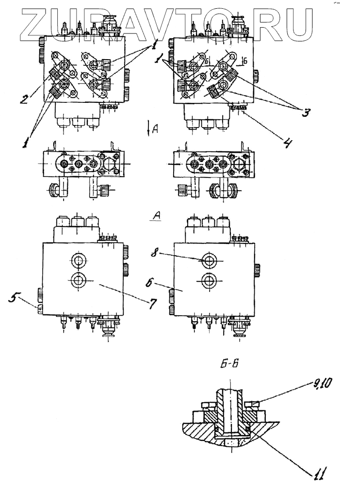
| 1 | 13.1240.100 | Переходник | Нет в продаже |
|
| 2 | К1-М33х2 | Крышка | Нет в продаже |
|
| 3 | 37.2110.200 | Переходник | Нет в продаже |
|
| 4 | К1-M24x1,5 | Крышка | Нет в продаже |
|
| 5 | П2-М14х1,5 | Пробка | Нет в продаже |
|
| 6 | 26.1401.000 | Гидрораспределитель | Нет в продаже |
|
| 7 | 26.1401.000-01 | Гидрораспределитель | Нет в продаже |
|
| 8 | 25.0710.003 | Заглушка | Нет в продаже |
|
| 9 | M10x20 | Болт | Нет в продаже |
|
| 10 | 10.65Г | Шайба | Нет в продаже |
|
| 11 | 026-032-36 | Кольцо | Нет в продаже |
|
1
1
1
2
3
4
5
6
7
8
9
10
11
Содержащиеся в справочниках-каталогах запасные части и детали носят исключительно информационный характер