Оригинальные каталоги
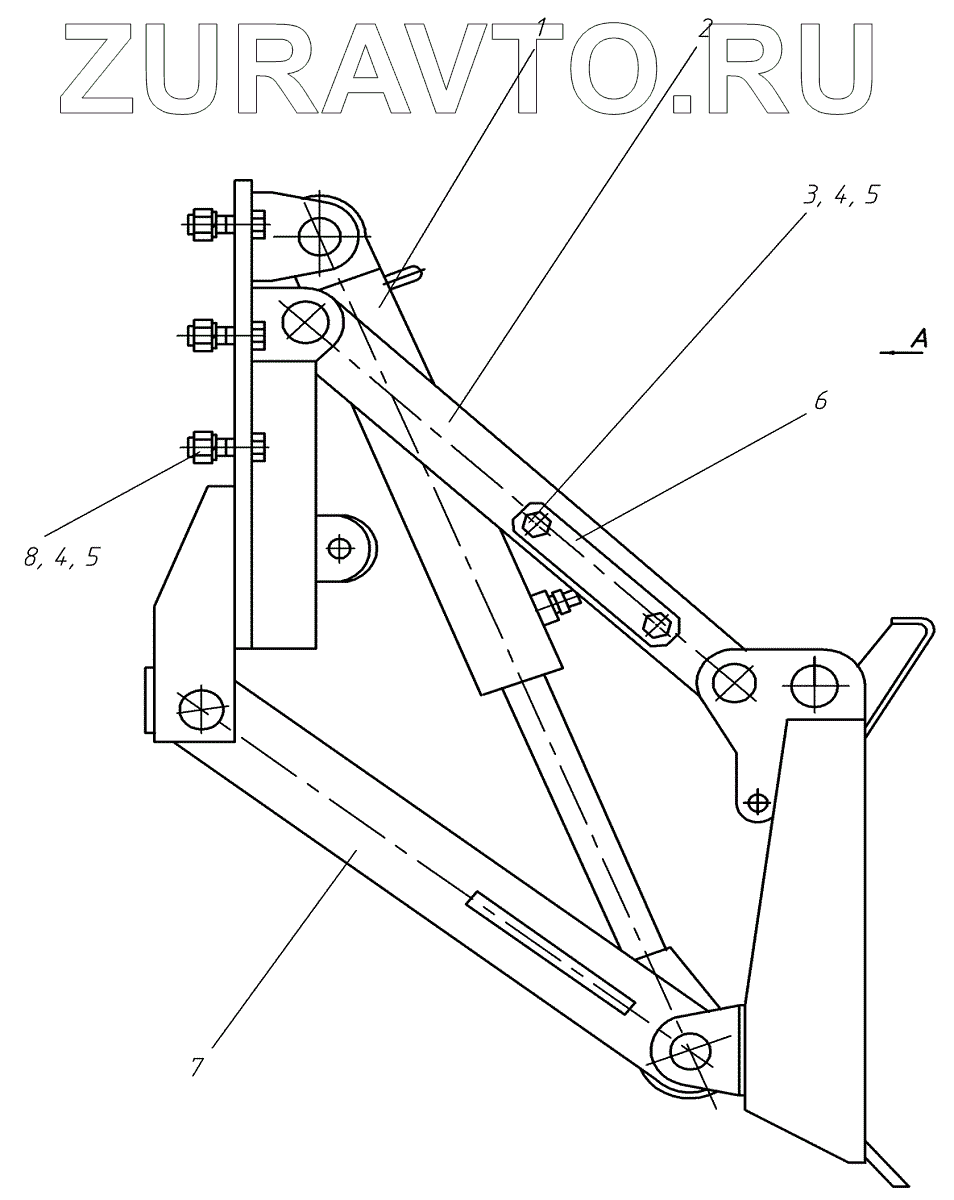
| № | Номер | Наименование | Цена | |
|---|---|---|---|---|
| 1 | ГЦ02-80х50х400 Э | Гидроцилиндр | Нет в продаже |
|
| 2 | 258.15.06.00.000 | Тяга | Нет в продаже |
|
| 3 | Болт М20х50 | Болт М20х50 | Нет в продаже |
|
| 4 | Гайка М20 | Гайка М20 | Нет в продаже |
|
| 5 | Шайба 20.65Г | Шайба | Нет в продаже |
|
| 6 | 258.15.00.00.004 | Стяжка | Нет в продаже |
|
| 7 | 258.15.02.00.000 | Рамка | Нет в продаже |
|
| 8 | Болт М20х75 | Болт | Нет в продаже |
|
| 9 | 258.15.03.00.000 | Плита опорная | Нет в продаже |
|
| 10 | 258.15.04.00.000 | Тяга | Нет в продаже |
|
| 11 | 258.15.01.00.000 | Отвал | Нет в продаже |
|
| 12 | 258.07.03.00.005 | Нож | Нет в продаже |
|
| 13 | 225.07.04.00.001-02 | Болт | Нет в продаже |
|
| 14 | Гайка М16 | Гайка М16 | Нет в продаже |
|
| 15 | Шайба 16.65Г | Шайба 16.65Г | Нет в продаже |
|
| 16 | 258.15.00.00.003 | Втулка | Нет в продаже |
|
| 17 | 1.3.Ц6 | Масленка | Нет в продаже |
|
| 18 | 258.15.00.00.002 | Ось | Нет в продаже |
|
| 19 | Шплинт 8х80 | Шплинт 8х80 | Нет в продаже |
|
| 20 | 0.804.1090 | Ось | Нет в продаже |
|
| 21 | 271.19.00.00.003 | Шайба | Нет в продаже |
|
| 22 | Кольцо В45 | Кольцо | Нет в продаже |
|
1
2
3
4
4
5
5
6
7
8
Содержащиеся в справочниках-каталогах запасные части и детали носят исключительно информационный характер