Оригинальные каталоги
| № | Номер | Наименование | Цена | |
|---|---|---|---|---|
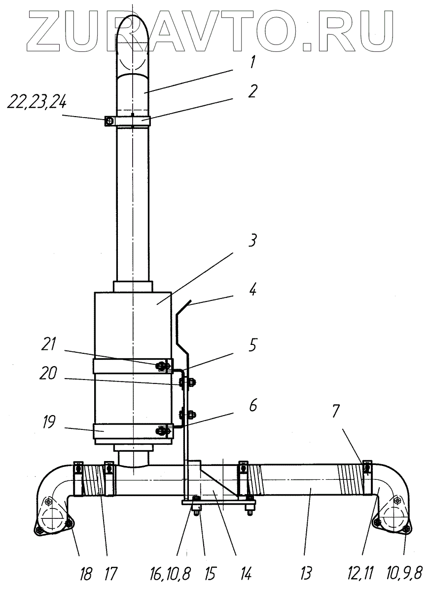
| 1 | 286.02.04.02.000 | Труба | Нет в продаже |
|
| 2 | 286.02.03.00.002 | Хомут | Нет в продаже |
|
| 3 | 250.02.04.01.000 | Глушитель | Нет в продаже |
|
| 4 | 250.02.04.00.007 | Экран | Нет в продаже |
|
| 5 | 260.02.05.03.000 | Кронштейн | Нет в продаже |
|
| 6 | 260.02.05.02.000 | Кронштейн | Нет в продаже |
|
| 7 | Robust 80-85 | Хомут силовой одноболтовый | Нет в продаже |
|
| 8 | Болт М10х45 | Болт М10х45 | Нет в продаже |
|
| 9 | Гайка М10 | Гайка М10 | Нет в продаже |
|
| 10 | Шайба 10.65Г | Шайба 10.65Г | Нет в продаже |
|
| 11 | 250.02.04.00.002 | Патрубок | Нет в продаже |
|
| 12 | 250.02.04.00.003 | Прокладка | Нет в продаже |
|
| 13 | 250.02.04.00.005-01 | Вставка | Нет в продаже |
|
| 14 | 250.02.04.02.000 | Кронштейн | Нет в продаже |
|
| 15 | 250.02.04.00.004 | Втулка | Нет в продаже |
|
| 16 | Шайба С10.02 | Шайба С10.02 | Нет в продаже |
|
| 17 | 250.02.04.00.005 | Вставка | Нет в продаже |
|
| 18 | 250.02.04.00.001 | Патрубок | Нет в продаже |
|
| 19 | 225.02.05.00.006 | Полухомут | Нет в продаже |
|
| 20 | Болт М12х35 | Болт М12х35 | Нет в продаже |
|
| 21 | Болт М12х50 | Болт М12х50 | Нет в продаже |
|
| 22 | Болт М12х40 | Болт М12х40 | Нет в продаже |
|
| 23 | Гайка М12 | Гайка М12 | Нет в продаже |
|
| 24 | Шайба 12.65Г | Шайба 12.65Г | Нет в продаже |
|
1
2
3
4
5
6
7
8
8
9
10
10
11
12
13
14
15
16
17
18
19
20
21
22
23
24
Содержащиеся в справочниках-каталогах запасные части и детали носят исключительно информационный характер