Оригинальные каталоги
| № | Номер | Наименование | Цена | |
|---|---|---|---|---|
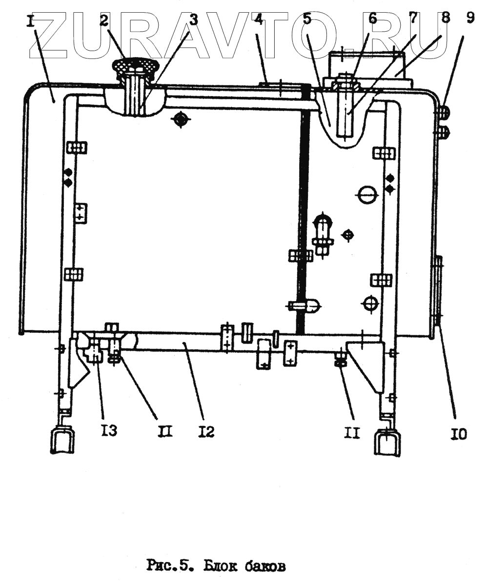
| 1 | 271251501000-00 | Бак топливный | Нет в продаже |
|
| 2 | 225252300003 | Крышка | Нет в продаже |
|
| 3 | 200042500000 | Фильтр | Нет в продаже |
|
| 4 | 563827010 | Датчик уровня топлива | Нет в продаже |
|
| 5 | 271251505000 | Бак масляный | Нет в продаже |
|
| 6 | 08771020-60 | Пробка | Нет в продаже |
|
| 7 | 200050213000 | Фильтр | Нет в продаже |
|
| 8 | 271251506000 | Фильтр сливной | Нет в продаже |
|
| 9 | 4158570102 | Корпус 1-20/1МН | Нет в продаже |
|
| 10 | 253251601001 | Крышка | Нет в продаже |
|
| 11 | 450254 | Кран сливной 130-1015370 | Нет в продаже |
|
| 12 | 27125150300-00 | Опора | Нет в продаже |
|
| 13 | 225252306000 | Кран | Нет в продаже |
|
1
2
3
4
5
6
7
8
9
10
11
11
12
13
Содержащиеся в справочниках-каталогах запасные части и детали носят исключительно информационный характер