Оригинальные каталоги
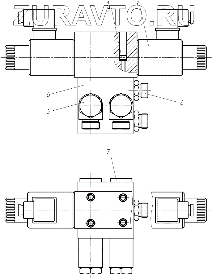
| № | Номер | Наименование | Цена | |
|---|---|---|---|---|
| 1 | Винт М5х45.109 | Винт | Нет в продаже |
|
| 2 | Шайба 5 65Г | Шайба 5 65Г | Нет в продаже |
|
| 3 | SWH-G02-C2-D24-20 | Гидрораспределитель | Нет в продаже |
|
| 4 | TN92GG-12LR | Адаптер TN92GG-12LR | Нет в продаже |
|
| 5 | TN111GG-15LR | Адаптер | Нет в продаже |
|
| 6 | ВР-6-1-S | Гидропанель ВР-6-1-S | Нет в продаже |
|
| 7 | TN185GG-1/2"R | Адаптер TN185GG-1/2"R | Нет в продаже |
|
2
4
5
6
7
Содержащиеся в справочниках-каталогах запасные части и детали носят исключительно информационный характер