Оригинальные каталоги
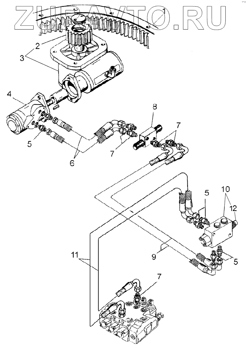
| № | Номер | Наименование | Цена | |
|---|---|---|---|---|
| 1 | 035.0003.0000 | Bearing disc | Нет в продаже |
|
| 2 | 019.0008.0001 | Pinion | Нет в продаже |
|
| 3 | 019.0008.0000 | Reducer | Нет в продаже |
|
| 4 | 029.0066.0000 | Motor | Нет в продаже |
|
| 5 | 008.0045.0000 | Hose fitting | Нет в продаже |
|
| 6 | 812.0242.0127 | Hydraulic hose | Нет в продаже |
|
| 7 | 008.0044.0000 | Hose fitting | Нет в продаже |
|
| 8 | 024.0054.0000 | Valve | Нет в продаже |
|
| 9 | 812.0244.0085 | Hydraulic hose | Нет в продаже |
|
| 10 | 023.0039.0000 | Diverter valve | Нет в продаже |
|
| 11 | 812.0244.0128 | Hydraulic hose | Нет в продаже |
|
| 12 | 023.0039.0001 | Actuator kit | Нет в продаже |
|
1
2
3
4
5
5
5
6
7
7
7
8
9
10
11
12
Содержащиеся в справочниках-каталогах запасные части и детали носят исключительно информационный характер