Оригинальные каталоги
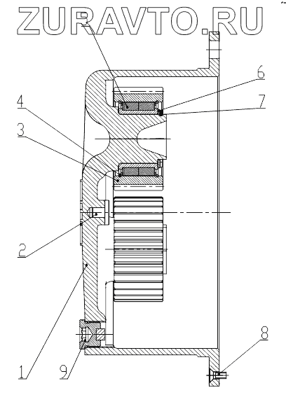
| № | Номер | Наименование | Цена | |
|---|---|---|---|---|
| 1 | Z33E060200001T2 | Planet Carrier | Нет в продаже |
|
| 2 | Z33E060200002T2 | Plug | Нет в продаже |
|
| 3 | Z33E060200003T2 | Planet Gear | Нет в продаже |
|
| 4 | Z33E060200004T2 | Snap Ring | Нет в продаже |
|
| 5 | Z33E060201T2 | Planet Bearing | Нет в продаже |
|
| 6 | Z33E060200005T2 | Washer | Нет в продаже |
|
| 7 | GB/T894.1-1986 | Snap Ring | Нет в продаже |
|
| 8 | GB/T819.2-1997 | Screw | Нет в продаже |
|
| 9 | Z33E060102T2 | Plug | Нет в продаже |
|
1
2
3
4
5
6
7
8
9
Содержащиеся в справочниках-каталогах запасные части и детали носят исключительно информационный характер