Оригинальные каталоги
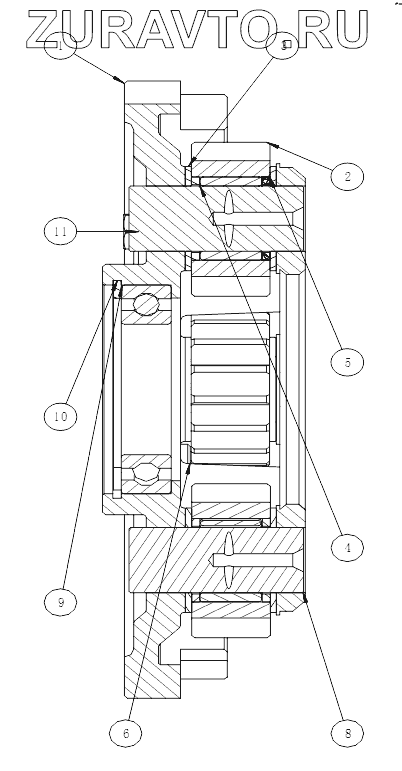
| № | Номер | Наименование | Цена | |
|---|---|---|---|---|
| 1 | Z3BII03030002 | Planetary Carrier-Reverse | Нет в продаже |
|
| 2 | Z3BII03030001 | Planetary Gear | Нет в продаже |
|
| 3 | Z3BII03030006 | Gasket | Нет в продаже |
|
| 4 | GB/T309-2000 | Needle | Нет в продаже |
|
| 5 | Z3BII03030007 | Snap Ring | Нет в продаже |
|
| 6 | GB/T32.1-88 | Bolt | Нет в продаже |
|
| 7 | Z3BII03030005 | Pin Ring | Нет в продаже |
|
| 8 | Z3BII03030003 | Planetary Shaft-Reverse | Нет в продаже |
|
| 9 | GB/T276-94 | Bearing | Нет в продаже |
|
| 10 | GB/T893.1-86 | Snap Ring | Нет в продаже |
|
| 11 | Z3BII03030004 | Tighten Iron | Нет в продаже |
|
1
2
3
4
5
6
8
9
10
11
Содержащиеся в справочниках-каталогах запасные части и детали носят исключительно информационный характер