Назад

Оригинальные каталоги

zoom-in zoom-out enlarge shrink circle-right circle-left file-text2 info cart
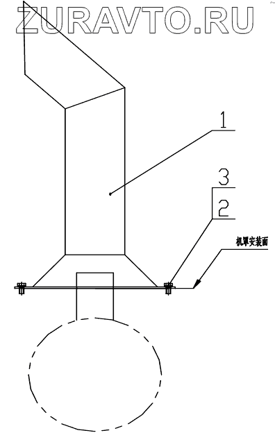
Номер Наименование Цена
1 Z33E010601T39 Exhaust Hose Нет в продаже
2 GB/T5783-2000 Connector Нет в продаже
3 GB/T93-1987 Valve Нет в продаже
1
2
3
100%
Содержащиеся в справочниках-каталогах запасные части и детали носят исключительно информационный характер