Оригинальные каталоги
| № | Номер | Наименование | Цена | |
|---|---|---|---|---|
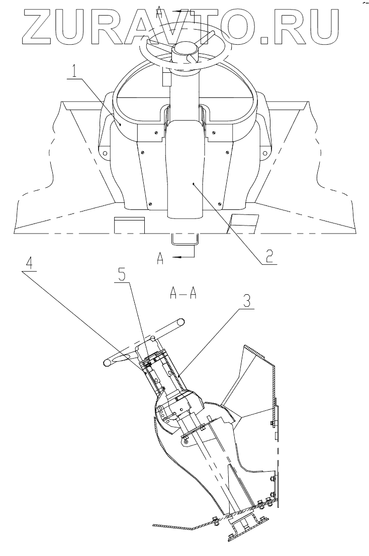
| 1 | Z5E3130700001 | Console | Нет в продаже |
|
| 2 | Z5E3130700002 | Under-side housing | Нет в продаже |
|
| 3 | Z5E3130700003 | Over and front housing | Нет в продаже |
|
| 4 | Z5E3130700004 | Over and back housing | Нет в продаже |
|
| 5 | GB/T67-2000 | Bolt | Нет в продаже |
|
1
2
3
4
5
Содержащиеся в справочниках-каталогах запасные части и детали носят исключительно информационный характер