Назад

Оригинальные каталоги

zoom-in zoom-out enlarge shrink circle-right circle-left file-text2 info cart
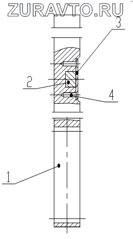
Номер Наименование Цена
1 Z38G160200001T2 Position Pole Нет в продаже
2 Z35A160201002B Circular Alnico Нет в продаже
3 Z50E160100002T56 Cover Нет в продаже
4 GB/T954-1986 Rivet Нет в продаже
1
2
3
4
100%
Содержащиеся в справочниках-каталогах запасные части и детали носят исключительно информационный характер