Назад

Оригинальные каталоги

zoom-in zoom-out enlarge shrink circle-right circle-left file-text2 info cart
Номер Наименование Цена
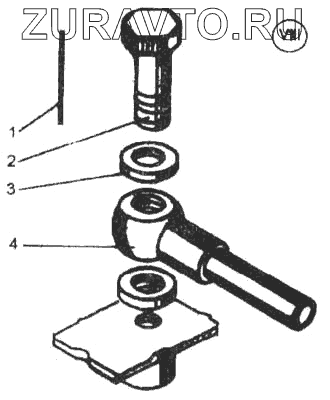
1 3,0-0-С 3282 Проволока L=300мм Нет в продаже
2 Д395-0303035 Болт Нет в продаже
3 Д395Б 02.029 Прокладка Нет в продаже
4 ДЗ-98В.31.00.040 Трубка Нет в продаже
1
2
3
4
100%
Содержащиеся в справочниках-каталогах запасные части и детали носят исключительно информационный характер