Оригинальные каталоги
| № | Номер | Наименование | Цена | |
|---|---|---|---|---|
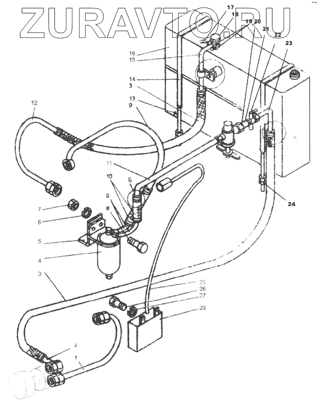
| 1 | ДЗ-98.33.00.160 | Трубка подачи топлива | Нет в продаже |
|
| 2 | ДЗ-98В9.31.00.030 | Трубка | Нет в продаже |
|
| 3 | ДЗ-98В9.31.00.004 | Рукав | Нет в продаже |
|
| 4 | ФГ-75 | Фильтр | Нет в продаже |
|
| 5 | ДЗ-98.31.00.158 | Кронштейн фильтра | Нет в продаже |
|
| 6 | М12-6gх40.58.019 7798 | Болт | Нет в продаже |
|
| 6 | 12 65Г.019 6402 | Шайба | Нет в продаже |
|
| 7 | М12-6Н.5.019 5915 | Гайка | Нет в продаже |
|
| 9 | ДЗ-98В9.31.00.020 | Трубка | Нет в продаже |
|
| 10 | ДЗ-98В9.31.00.003 | Рукав | Нет в продаже |
|
| 11 | ДЗ-98В9.31.00.010 | Трубка | Нет в продаже |
|
| 12 | ДЗ-98В9.31.00.060 | Трубка | Нет в продаже |
|
| 13 | Д395В.31.00.001 | Прокладка | Нет в продаже |
|
| 14 | Д395В.31.00.030 | Лента | Нет в продаже |
|
| 15 | ДЗ-98В9.31.00.050 | Трубка | Нет в продаже |
|
| 16 | ДЗ-98В.31.00.030 | Топливный бак | Нет в продаже |
|
| 17 | 3,0-0-С 3282 | Проволока L=300мм | Нет в продаже |
|
| 18 | Д395 03.03.035 | Болт | Нет в продаже |
|
| 19 | Д395Б.02.029 | Прокладка | Нет в продаже |
|
| 20 | 048.08.00.003 | Гайка | Нет в продаже |
|
| 21 | ДЗ-98В9.31.00.007 | Ниппель | Нет в продаже |
|
| 22 | 2201С-28-Б | Краник проходной | Нет в продаже |
|
| 23 | ДЗ-98В9.31.00.070 | Трубка | Нет в продаже |
|
| 24 | М16-6Н.5.019 5915 | Гайка | Нет в продаже |
|
| 25 | ДЗ-98В9.31.00.040 | Трубка слива | Нет в продаже |
|
| 26 | М10-6gх20 58.019 7798 | Болт | Нет в продаже |
|
| 27 | 10 65Г.019 6402 | Шайба | Нет в продаже |
|
| 28 | ДЗ-98В.31.00.200 | Бачок | Нет в продаже |
|
1
2
3
3
4
5
6
6
7
9
9
10
11
12
13
14
15
16
17
18
19
20
21
22
23
24
25
26
27
28
Содержащиеся в справочниках-каталогах запасные части и детали носят исключительно информационный характер