Оригинальные каталоги
| № | Номер | Наименование | Цена | |
|---|---|---|---|---|
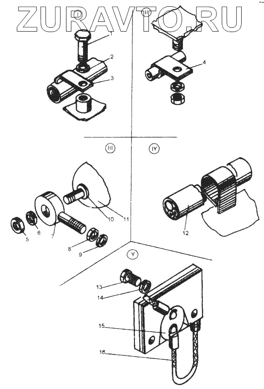
| 7 | ДЗ-98.41.06.000 | Кронштейн | Нет в продаже |
|
| 8 | М10-6Н.5.019 5915 | Гайка | Нет в продаже |
|
| 9 | 10.65Г.069 6402 | Шайба | Нет в продаже |
|
| 10 | 305.3711 | Фара | Нет в продаже |
|
| 11 | А24-60+40 2023.1 | Лампа | Нет в продаже |
|
| 12 | Д39841.00.008 | Прокладка | Нет в продаже |
|
| 13 | В.М4-6gх10.58.019 17473 | Винт | Нет в продаже |
|
| 14 | 4.65Г.069 6402 | Шайба | Нет в продаже |
|
| 15 | ШР-51 | Розетка | Нет в продаже |
|
| 16 | ДЗ-98А.41.00.280-02 | Провод | Нет в продаже |
|
7
8
9
10
11
12
13
14
15
16
Содержащиеся в справочниках-каталогах запасные части и детали носят исключительно информационный характер