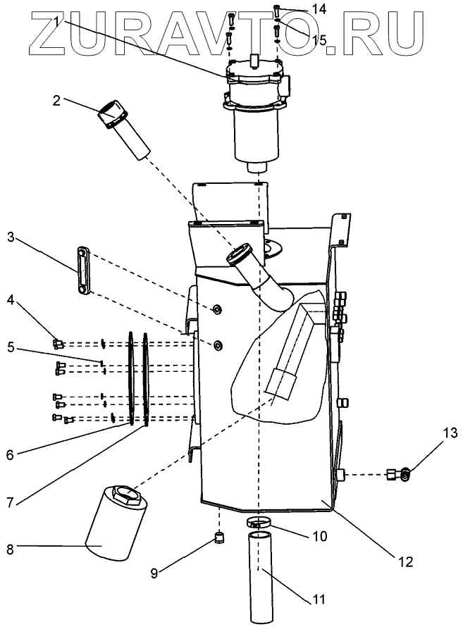
Оригинальные каталоги
| № | Номер | Наименование | Цена | |
|---|---|---|---|---|
| 1 | RFM125 MV1 | Фильтр | Нет в продаже |
|
| 2 | SMBB-80-S-L-00-05-B-S200-0 | Фильтр вентиляционно-заливочный | Нет в продаже |
|
| 3 | SNA 127B-S-T-10 | Датчик уровня масла | Нет в продаже |
|
| 4 | Болт M12-6gx20.58.019 | Болт | Нет в продаже |
|
| 5 | Шайба 12.65Г.019 | Шайба 12.65Г.019 | Нет в продаже |
|
| 6 | В190М.43.15.015 | Крышка | Нет в продаже |
|
| 7 | Кольцо 260-270-58 | Кольцо | Нет в продаже |
|
| 8 | MSZ402MNXAB9 | Фильтр | Нет в продаже |
|
| 9 | 067.44.12.021 | Пробка | Нет в продаже |
|
| 10 | Хомут 1Л 60-90-6 | Хомут | Нет в продаже |
|
| 11 | TL150.43.15.001 | Рукав | Нет в продаже |
|
| 12 | TL155.43.15.010 | Бак масляный | Нет в продаже |
|
| 13 | TL150.43.00.440 | Тройник | Нет в продаже |
|
| 14 | Болт M10-6gx30.58.019 | Болт | Нет в продаже |
|
| 15 | Шайба 10.65Г.019 | Шайба 10.65Г.019 | Нет в продаже |
|
1
2
3
4
5
6
7
8
9
10
11
12
13
14
15
Содержащиеся в справочниках-каталогах запасные части и детали носят исключительно информационный характер