Назад

Оригинальные каталоги

zoom-in zoom-out enlarge shrink circle-right circle-left file-text2 info cart
Номер Наименование Цена
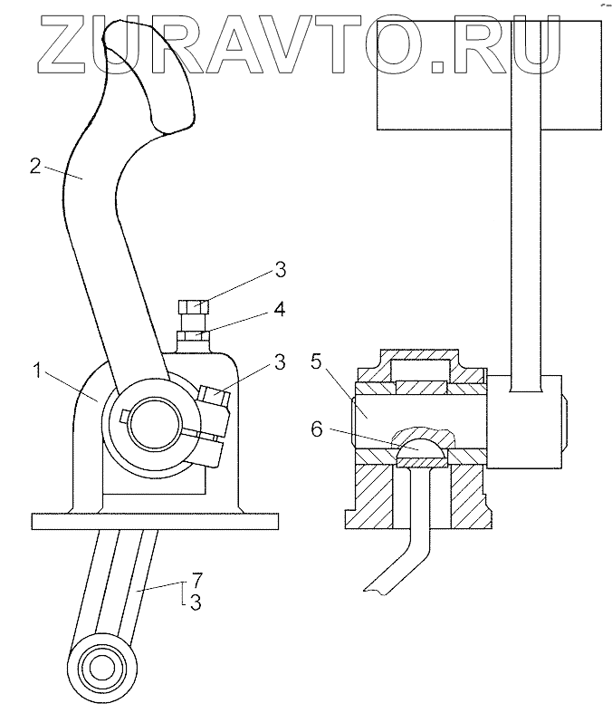
114-74-105СП 114-74-105СП Деселератор Нет в продаже
1 114-74-106СП Корпус Нет в продаже
2 24-15-23 Педаль Нет в продаже
3 БолтМ10-6gх30.58.019 Болт Нет в продаже
4 ГайкаМ10-7Н.6.019 Гайка Нет в продаже
5 114-74-8 Валик Нет в продаже
6 Шпонка5х7,5 Шпонка 5х7,5 Нет в продаже
7 114-74-108СП Рычаг Нет в продаже
1
2
3
3
3
4
5
6
7
100%
Содержащиеся в справочниках-каталогах запасные части и детали носят исключительно информационный характер