Оригинальные каталоги
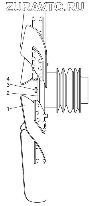
| № | Номер | Наименование | Цена | |
|---|---|---|---|---|
| 1 | 700-04-844СП | Крестовина | Нет в продаже |
|
| 1 | 236-130812 | Крыльчатка | Нет в продаже |
|
| 2 | 700-04-844 | Крышка | Нет в продаже |
|
| 2 | 238АК-1308121 | Крышка | Нет в продаже |
|
| 3 | БолтМ10-6gх35.58.019 | Болт | Нет в продаже |
|
| 4 | Шайба10ОТ65Г09 | Шайба | Нет в продаже |
|
1
1
2
2
3
4
Содержащиеся в справочниках-каталогах запасные части и детали носят исключительно информационный характер