Оригинальные каталоги
| № | Номер | Наименование | Цена | |
|---|---|---|---|---|
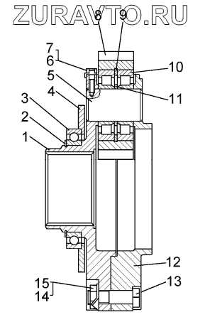
| 64-19-105СП | 64-19-105СП | Водило | Нет в продаже |
|
| 1 | 64-19-31 | Опора водила | Нет в продаже |
|
| 2 | 700-58-2653 | Кольцо В160 | Нет в продаже |
|
| 3 | 1000932 | Подшипник | Нет в продаже |
|
| 4 | 64-19-48 | Крышка | Нет в продаже |
|
| 5 | 64-19-42 | Ось сателлита | Нет в продаже |
|
| 6 | 700-31-944-02 | Шайба стопорная | Нет в продаже |
|
| 7 | 700-28-2635 | Болт стопорный | Нет в продаже |
|
| 8 | 64-19-44 | Сателлит | Нет в продаже |
|
| 9 | 700-39-492 | Кольцо В130 | Нет в продаже |
|
| 9 | 700-39-492-01 | Кольцо В130 | Нет в продаже |
|
| 10 | 42312ЛМ | Подшипник | Нет в продаже |
|
| 11 | 700-58-2623 | Кольцо | Нет в продаже |
|
| 12 | 64-19-32 | Щека водила | Нет в продаже |
|
| 13 | 700-28-2636 | Болт призонный | Нет в продаже |
|
| 14 | 700-30-2355 | Гайка | Нет в продаже |
|
| 15 | 700-31-2820 | Шайба стопорная | Нет в продаже |
|
64-19-105СП
1
2
3
4
5
6
7
8
9
9
10
11
12
13
14
15
Содержащиеся в справочниках-каталогах запасные части и детали носят исключительно информационный характер