Оригинальные каталоги
| № | Номер | Наименование | Цена | |
|---|---|---|---|---|
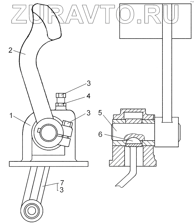
| 114-74-105СП | 114-74-105СП | Деселератор | Нет в продаже |
|
| 1 | 114-74-106СП | Корпус | Нет в продаже |
|
| 2 | 24-15-23 | Педаль | Нет в продаже |
|
| 3 | БолтМ10-6gх30.58.019 | Болт | Нет в продаже |
|
| 4 | ГайкаМ10-7Н.6.019 | Гайка | Нет в продаже |
|
| 5 | 114-74-8 | Валик | Нет в продаже |
|
| 6 | Шпонка5х7,5 | Шпонка 5х7,5 | Нет в продаже |
|
| 7 | 114-74-108СП | Рычаг | Нет в продаже |
|
1
2
3
3
3
4
5
6
7
Содержащиеся в справочниках-каталогах запасные части и детали носят исключительно информационный характер