Оригинальные каталоги
| № | Номер | Наименование | Цена | |
|---|---|---|---|---|
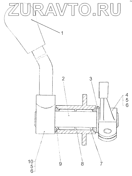
| 114-74-110СП | 114-74-110СП | Мостик | Нет в продаже |
|
| 1 | 700-42-2951СП | Рукоятка | Нет в продаже |
|
| 2 | 114-74-14 | Валик | Нет в продаже |
|
| 3 | 3193-1 | Шайба | Нет в продаже |
|
| 4 | 114-74-17 | Рычаг | Нет в продаже |
|
| 5 | Шпонка5х7,5 | Шпонка 5х7,5 | Нет в продаже |
|
| 6 | БолтМ10-6gх30.58.019 | Болт | Нет в продаже |
|
| 7 | 942/20 | Подшипник 942/20 | Нет в продаже |
|
| 8 | 114-74-15 | Стакан | Нет в продаже |
|
| 9 | 700-42-2503 | Кольцо | Нет в продаже |
|
| 10 | 114-74-111СП | Рукоятка | Нет в продаже |
|
1
2
3
4
5
5
6
6
7
8
9
10
Содержащиеся в справочниках-каталогах запасные части и детали носят исключительно информационный характер