Оригинальные каталоги
| № | Номер | Наименование | Цена | |
|---|---|---|---|---|
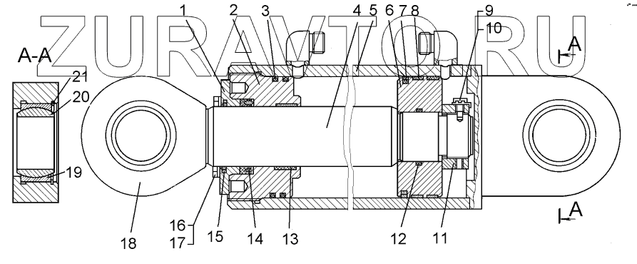
| 50-50-225СП | 50-50-225СП | Гидроцилиндр | Нет в продаже |
|
| 1 | 50-50-228-01 | Фланец | Нет в продаже |
|
| 2 | 50-50-226 | Крышка | Нет в продаже |
|
| 3 | 700-40-7937 | Кольцо | Нет в продаже |
|
| 4 | 50-50-233СП | Шток | Нет в продаже |
|
| 5 | 50-50-169СП | Корпус | Нет в продаже |
|
| 6 | 50-50-227 | Поршень | Нет в продаже |
|
| 7 | Е13-160 | Уплотнение поршневое комбинированное Е13-160 | Нет в продаже |
|
| 8 | Е21-160-15-4 | Втулка опорно-направляющая поршневая Е21-160-15-4 | Нет в продаже |
|
| 9 | 700-35-2164 | Винт стопорный | Нет в продаже |
|
| 10 | Шайба2.12.01.05 | Шайба | Нет в продаже |
|
| 11 | 50-50-155 | Гайка | Нет в продаже |
|
| 12 | 700-40-7936 | Кольцо | Нет в продаже |
|
| 13 | Е22-080-30-3.0 | Втулка опорно-направляющая штоковая Е22-080-30-3.0 | Нет в продаже |
|
| 14 | Е3-080-100-15 | Манжета Е3-080-100-15 | Нет в продаже |
|
| 15 | Е50-А-063-5 | Грязесъемник Е50-А-063-5 | Нет в продаже |
|
| 16 | 28579 | Болт | Нет в продаже |
|
| 17 | Шайба12ОТ65Г09 | Шайба | Нет в продаже |
|
| 18 | 50-50-151 | Проушина | Нет в продаже |
|
| 19 | 80-52-127 | Кольцо | Нет в продаже |
|
| 20 | 80-52-128 | Втулка | Нет в продаже |
|
| 21 | 700-58-2533 | Кольцо стопорное | Нет в продаже |
|
50-50-225СП
1
2
3
4
5
6
7
8
9
10
11
12
13
14
15
16
17
18
19
20
21
Содержащиеся в справочниках-каталогах запасные части и детали носят исключительно информационный характер