Оригинальные каталоги
| № | Номер | Наименование | Цена | |
|---|---|---|---|---|
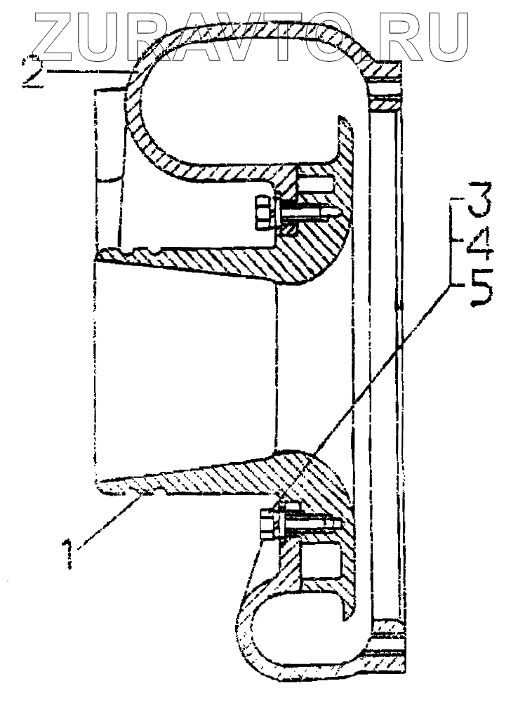
| 92.930 | 92.930 | Корпус компрессора | Нет в продаже |
|
| 1 | 92.206 | Вставка компрессора | Нет в продаже |
|
| 2 | 93.094 | Корпус компрессора | Нет в продаже |
|
| 3 | [Болт М6х20.58.029] | Болт М6х20.58.029 | Нет в продаже |
|
| 4 | 31529 | Шайба | Нет в продаже |
|
| 5 | [Шайба] | Шайба | Нет в продаже |
|
1
2
3
4
5
Содержащиеся в справочниках-каталогах запасные части и детали носят исключительно информационный характер