Оригинальные каталоги
| № | Номер | Наименование | Цена | |
|---|---|---|---|---|
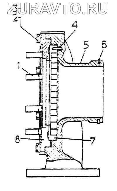
| 92.660 | 92.660 | Корпус турбины | Нет в продаже |
|
| 1 | 700-29-2368 | Шпилька | Нет в продаже |
|
| 2 | 700-31-2414-3 | Пластина | Нет в продаже |
|
| 3 | [Болт М8х20.58.029] | Болт М8х20.58.029 | Нет в продаже |
|
| 4 | 92.261 | Фиксатор | Нет в продаже |
|
| 5 | 92.095 | Корпус турбины | Нет в продаже |
|
| 6 | А27.00.007 | Кольцо | Нет в продаже |
|
| 6 | 92.264 | Кольцо | Нет в продаже |
|
| 7 | 92.096 | Венец сопловой | Нет в продаже |
|
| 8 | 92.094 | Проставка | Нет в продаже |
|
1
2
3
4
5
6
6
7
8
Содержащиеся в справочниках-каталогах запасные части и детали носят исключительно информационный характер