Оригинальные каталоги
| № | Номер | Наименование | Цена | |
|---|---|---|---|---|
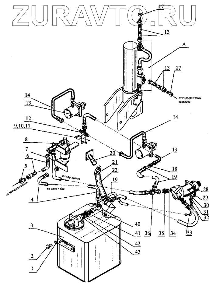
| 1 | Шайба 20.65Г [ГОСТ 6402-70] | Шайба 20.65Г | Нет в продаже |
|
| 2 | Болт М20-8gх40.36 [ГОСТ 7796-70] | Болт М20-8gх40.36 | Нет в продаже |
|
| 3 | ЭТЦ-16009.10.04.000 | Гидробак | Нет в продаже |
|
| 4 | Рукав РВД 16х650 У [ТУ 22-4756-80] | Рукав РВД 16х650 У | Нет в продаже |
|
| 5 | ЭТЦ-1609.10.13.001 | Переходник | Нет в продаже |
|
| 6 | Рукав РВД 16х850 У [ТУ 22-4756-80] | Рукав РВД 16х850 У | Нет в продаже |
|
| 7 | Рукав РВД 16х1250 У [ТУ 22-4756-80] | Рукав РВД 16х1250 У | Нет в продаже |
|
| 8 | ЭТЦ-1609.10.01.000 | Установка дросселя | Нет в продаже |
|
| 9 | Болт М8-8gх20.36 [ГОСТ 7796-70] | Болт М8-8gх20.36 | Нет в продаже |
|
| 10 | Гайка М8.5 [ГОСТ 5915-70] | Гайка М8.5 | Нет в продаже |
|
| 11 | Шайба 8.65Г [ГОСТ 6402-70] | Шайба 8.65Г | Нет в продаже |
|
| 12 | ФДН-500.04. 01.000 | Тройник | Нет в продаже |
|
| 13 | Рукав РВД 16х1250 [ТУ 22-4756-80] | Рукав РВД 16х1250 | Нет в продаже |
|
| 14 | Рукав РВД 16х1050 [ТУ 22-4756-80] | Рукав РВД 16х1050 | Нет в продаже |
|
| 17 | ЭТЦ-1609.10.35.000 | Переходник | Нет в продаже |
|
| 18 | ЭТЦ-1609.10.00.061 | Переходник | Нет в продаже |
|
| 19 | Рукав РВД 12х650 [ТУ 22-4756-80] | Рукав РВД 12х650 | Нет в продаже |
|
| 20 | ЭТЦ-1609.10.33.000 | Трубопровод | Нет в продаже |
|
| 21 | Хомут 40-60 | Хомут 40-60 | Нет в продаже |
|
| 22 | Рукав 40х50-4 1Х340 [ГОСТ 10362-76] | Рукав 40х50-4 1Х340 | Нет в продаже |
|
| 28 | Шайба 10.65Г [ГОСТ 6402-70] | Шайба 10.65Г | Нет в продаже |
|
| 29 | Болт М10-8gх35.36 [ГОСТ 7796-70] | Болт М10-8gх35.36 | Нет в продаже |
|
| 30 | У 2201.5 | Прокладка | Нет в продаже |
|
| 31 | ЭТЦ-1609.10.00.002 | Штуцер М16 | Нет в продаже |
|
| 32 | У2205.1 | Хомутик | Нет в продаже |
|
| 33 | Рукав 12х20-4 L=700 [ГОСТ 10362-76] | Рукав 12х20-4 L=700 | Нет в продаже |
|
| 34 | ЭТЦ-1609.10.00.051 | Прокладка | Нет в продаже |
|
| 35 | У.4571.118 | Штуцер 15-М27 | Нет в продаже |
|
| 36 | ЭТЦ-1609.10.34.000 | Тройник | Нет в продаже |
|
| 40 | ЭТЦ-1609.10.11.000 | Тройник | Нет в продаже |
|
| 41 | ЭТЦ-408-1.01.08.013 | Штуцер | Нет в продаже |
|
| 42 | У 2201.9 | Прокладка | Нет в продаже |
|
| 43 | Кольцо 040-045-30-2-1 [ГОСТ 9833-73] | Кольцо 040-045-30-2-1 | Нет в продаже |
|
1
2
3
4
5
6
7
8
9
10
11
12
13
13
13
13
14
14
17
17
18
19
19
20
21
22
28
29
30
31
32
33
34
35
36
40
41
42
43
Содержащиеся в справочниках-каталогах запасные части и детали носят исключительно информационный характер