Оригинальные каталоги
| № | Номер | Наименование | Цена | |
|---|---|---|---|---|
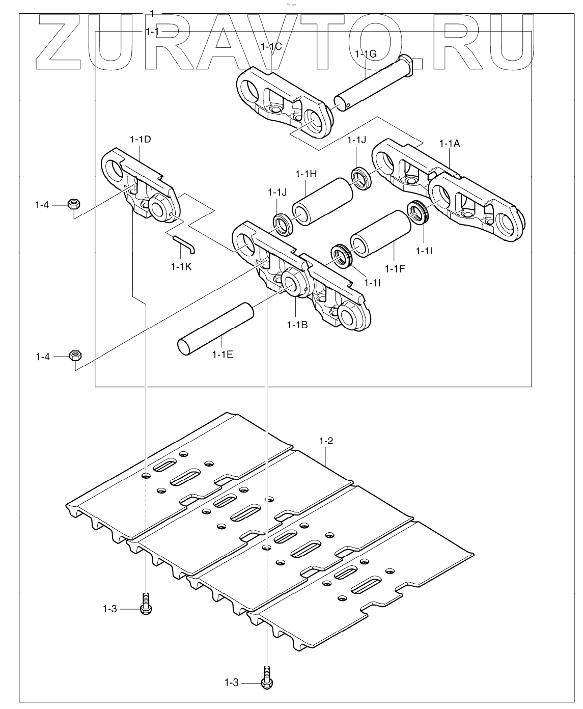
| 1 | K1011514 | TRACK SHOE ASSY-600G | Нет в продаже |
|
| 1-1 | K1011519 | TRACK LINK ASSY | Нет в продаже |
|
| 1-1A | 2272-6104R | Link, track | Нет в продаже |
|
| 1-1B | 2272-6104L | Link, track | Нет в продаже |
|
| 1-1C | 2272-6105R | Link, master | Нет в продаже |
|
| 1-1D | 2272-6105L | Link, master | Нет в продаже |
|
| 1-1E | 2123-6060 | Pin | Нет в продаже |
|
| 1-1F | 110-00226 | Bushing | Нет в продаже |
|
| 1-1G | 2123-6061 | Pin, master | Нет в продаже |
|
| 1-1H | 2110-6052 | Bushing, master | Нет в продаже |
|
| 1-1I | 180-00441 | Seal, dust | Нет в продаже |
|
| 1-1J | 2114-6035 | Spacer | Нет в продаже |
|
| 1-1K | 2123-6062 | Pin, small | Нет в продаже |
|
| 1-2 | 2273-6040D1 | Shoe | Нет в продаже |
|
| 1-3 | 2120-6017 | Bolt | Нет в продаже |
|
| 1-4 | 2121-6017 | Nut | Нет в продаже |
|
1
1-1
1-1A
1-1B
1-1C
1-1D
1-1E
1-1F
1-1G
1-1H
1-1I
1-1I
1-1J
1-1J
1-1K
1-2
1-3
1-3
1-4
1-4
Содержащиеся в справочниках-каталогах запасные части и детали носят исключительно информационный характер