Оригинальные каталоги
| № | Номер | Наименование | Цена | |
|---|---|---|---|---|
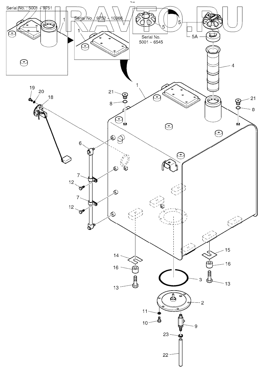
| K1045318A | K1045318A | FUEL TANK ASSY | Нет в продаже |
|
| 450103-00131 | 450103-00131 | TANK ASSY,FUEL | Нет в продаже |
|
| 1 | K1044948A | TANK, FUEL | Нет в продаже |
|
| 1 | 450103-00150 | TANK,FUEL | Нет в продаже |
|
| 1 | 450103-00150A | TANK,FUEL | Нет в продаже |
|
| 1 | 450103-00150B | TANK,FUEL | Нет в продаже |
|
| 2 | 473-00033 | COVER | Нет в продаже |
|
| 3 | S8011450 | O-RING | Нет в продаже |
|
| 4 | 471-00105A | FILTER, FUEL STRAINER | Нет в продаже |
|
| 5 | K1004266 | Cap, fuel | Нет в продаже |
|
| 5 | 110911-00126 | Cap, fuel | Нет в продаже |
|
| 5A | 400504-00045 | ELEMENT, FUEL CAP | Нет в продаже |
|
| 6 | 119-00014AD1 | GAUGE, LEVEL | Нет в продаже |
|
| 7 | DS2802021 | Clip | Нет в продаже |
|
| 8 | S8000111 | O-RING | Нет в продаже |
|
| 9 | 186-00017A | COCK | Нет в продаже |
|
| 10 | S0512066 | BOLT | Нет в продаже |
|
| 11 | S5102603 | WASHER;SPRING M10 | Нет в продаже |
|
| 12 | K1001029 | BOLT | Нет в продаже |
|
| 13 | S0565466 | BOLT M16X2.0X60 | Нет в продаже |
|
| 14 | 2114-1813 | SHIM D20X0.8T | Нет в продаже |
|
| 15 | 2114-1814 | SHIM D20X1.6T | Нет в продаже |
|
| 16 | 114-00425 | Spacer | Нет в продаже |
|
| 18 | 547-00026 | SENDER, FUEL | Нет в продаже |
|
| 18 | 301316-00016 | SENDER,FUEL | Нет в продаже |
|
| 19 | S3450833 | SCREW M5X0.8X12 | Нет в продаже |
|
| 20 | S5100203 | WASHER;SPRING | Нет в продаже |
|
| 21 | 2181-1890D2 | PLUG PT1/4 | Нет в продаже |
|
| 22 | DS2105053 | HOSE | Нет в продаже |
|
| 23 | S8450012 | CLAMP;HOSE | Нет в продаже |
|
K1045318A
450103-00131
1
1
1
1
1
1
1
1
1
1
1
1
2
3
4
5
5
5
5
5A
6
7
7
8
8
9
10
11
12
12
13
13
14
15
16
16
18
18
19
20
21
21
22
23
Содержащиеся в справочниках-каталогах запасные части и детали носят исключительно информационный характер