Оригинальные каталоги
| № | Номер | Наименование | Цена | |
|---|---|---|---|---|
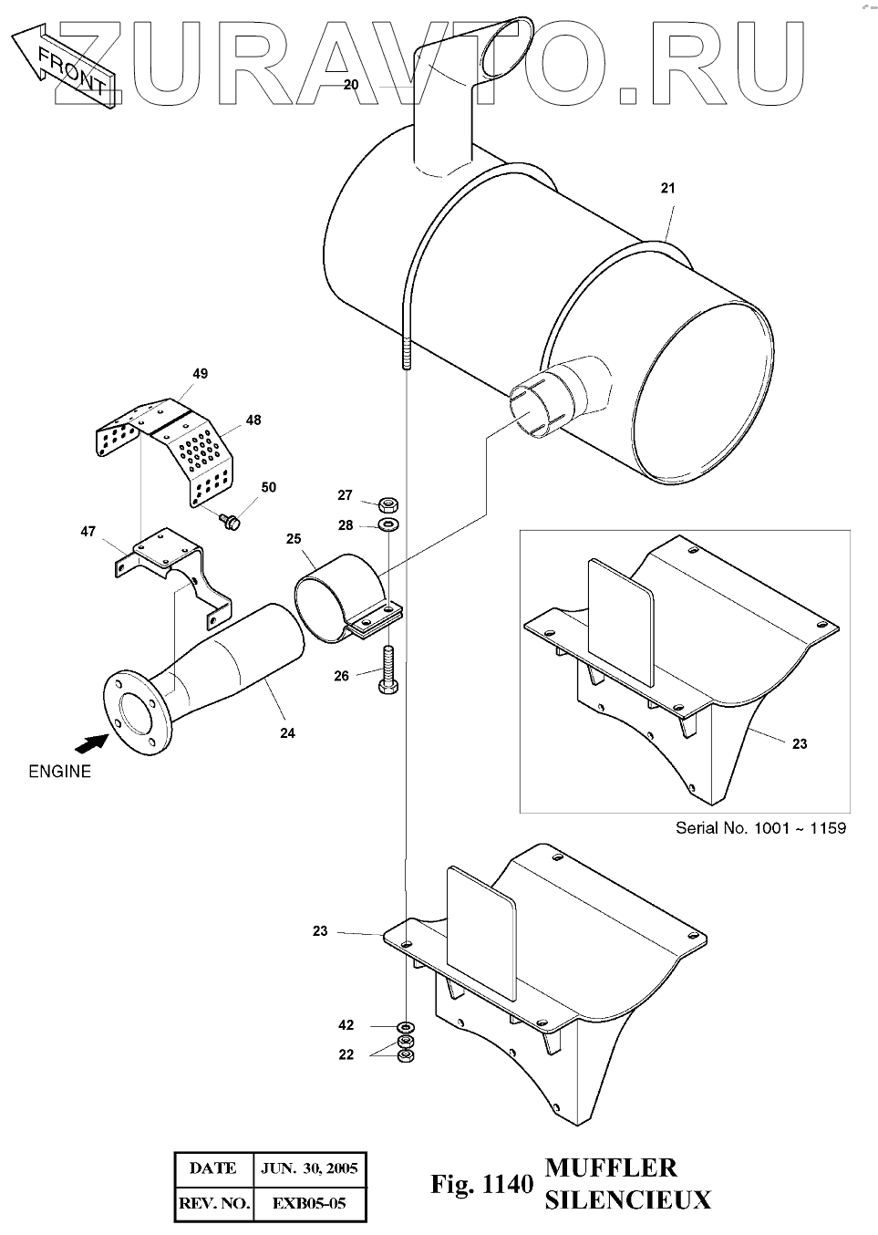
| 20 | 203-00013A | MUFFLER | Нет в продаже |
|
| 21 | 2120-2135A | BOLT;U M10X1.5 | Нет в продаже |
|
| 22 | S4012633 | NUT M10X1.5 | Нет в продаже |
|
| 23 | 2197-1459C | BRACKET;MUFFLER | Нет в продаже |
|
| 23 | 2197-1459E | BRACKET;MUFFLER | Нет в продаже |
|
| 24 | 2182-1573B | PIPE;EXHAUST | Нет в продаже |
|
| 24 | 2182-1573C | PIPE;EXHAUST | Нет в продаже |
|
| 25 | 2124-1592A | CLAMP | Нет в продаже |
|
| 26 | S0515353 | BOLT M12X1.75X35 | Нет в продаже |
|
| 27 | S4012733 | NUT M12 | Нет в продаже |
|
| 28 | S5010713 | WASHER;PLAIN | Нет в продаже |
|
| 42 | S5010613 | WASHER;PLAIN | Нет в продаже |
|
| 47 | 195-02320 | BRACKET | Нет в продаже |
|
| 48 | 621-02363 | COVER | Нет в продаже |
|
| 49 | 621-02364 | COVER | Нет в продаже |
|
| 50 | 120-00276 | BOLT M8X1.25X12 | Нет в продаже |
|
| 601-00014A | 601-00014A | ENGINE ASS'Y | Нет в продаже |
|
| 601-00014B | 601-00014B | ENGINE ASS'Y | Нет в продаже |
|
20
21
22
23
23
23
23
24
24
25
26
27
28
42
47
48
49
50
Содержащиеся в справочниках-каталогах запасные части и детали носят исключительно информационный характер