Оригинальные каталоги
| № | Номер | Наименование | Цена | |
|---|---|---|---|---|
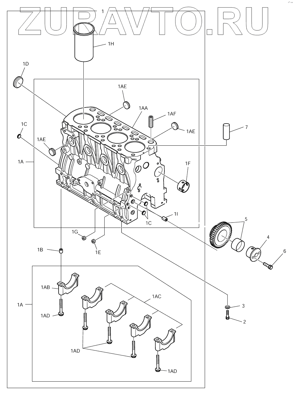
| 1 | K1022370 | BLOCK;CYLINDER | Нет в продаже |
|
| 1A | K1022371 | BLOCK;CYLINDER | Нет в продаже |
|
| 1AA | K1022372 | BLOCK;CYLINDER | Нет в продаже |
|
| 1AB | K1019139 | CAP;MAIN BEARING | Нет в продаже |
|
| 1AC | K1019140 | CAP;MAIN BEARING | Нет в продаже |
|
| 1AD | K1019141 | SCREW;HEX FLANGE HEAD CAP | Нет в продаже |
|
| 1AE | K1019142 | PLUG;EXPANSION | Нет в продаже |
|
| 1AF | K1019143 | PLUG;THREADED | Нет в продаже |
|
| 1B | K1019144 | PIN;ROLL | Нет в продаже |
|
| 1C | K1019145 | PLUG;EXPANSION | Нет в продаже |
|
| 1D | K1019146 | PLUG;EXPANSION | Нет в продаже |
|
| 1E | K1019147 | PLUG;PIPE | Нет в продаже |
|
| 1F | K1019148 | BUSHING | Нет в продаже |
|
| 1G | K1019149 | PLUG;PIPE | Нет в продаже |
|
| 1H | K1022373 | LINER;CYLINDER | Нет в продаже |
|
| 1I | K1019151 | PIN;GUIDE | Нет в продаже |
|
| 2 | K1019152 | SCREW | Нет в продаже |
|
| 3 | K1019153 | WASHER | Нет в продаже |
|
| 4 | K1019154 | SHAFT;IDLER | Нет в продаже |
|
| 5 | K1019155 | GEAR;IDLER | Нет в продаже |
|
| 6 | K1019156 | SCREW | Нет в продаже |
|
| 7 | K1019373 | PIN;OIL | Нет в продаже |
|
| K1022369 | K1022369 | CYLINDER BLOCK | Нет в продаже |
|
1
1A
1A
1AA
1AB
1AC
1AD
1AD
1AD
1AE
1AE
1AE
1AF
1B
1C
1C
1D
1E
1F
1G
1H
1I
2
3
4
5
6
7
Содержащиеся в справочниках-каталогах запасные части и детали носят исключительно информационный характер