Оригинальные каталоги
| № | Номер | Наименование | Цена | |
|---|---|---|---|---|
| 920-00083 | 920-00083 | COOLER & HEATER PIPING | Нет в продаже |
|
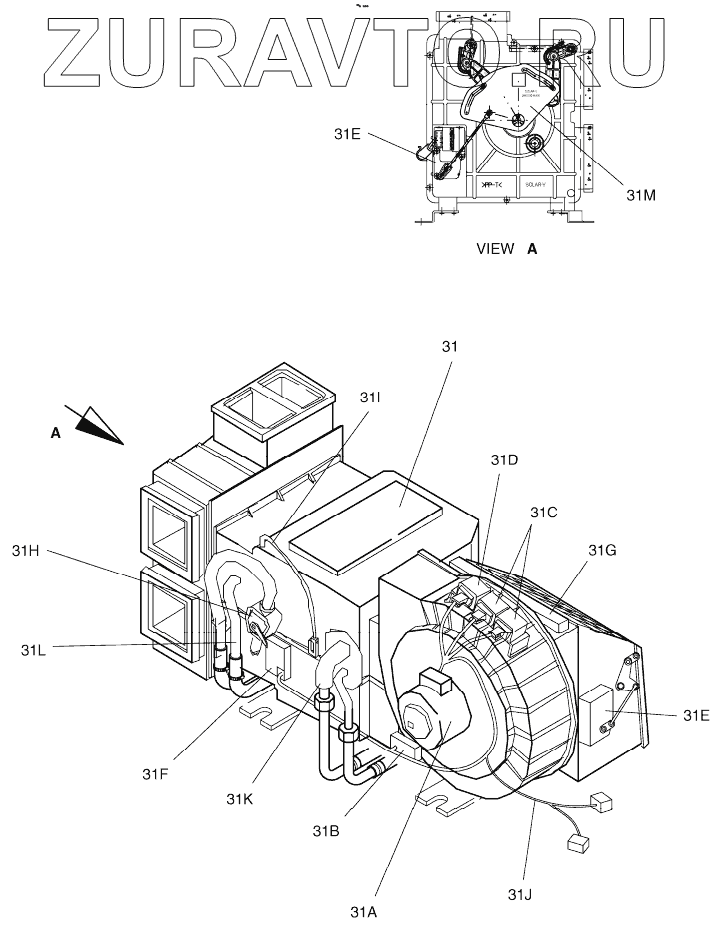
| 31 | 920-00020B | AIRCON UNIT | Нет в продаже |
|
| 31 | 920-00020C | Unit, aircon | Нет в продаже |
|
| 31A | 2538-6015 | MOTOR;BLOWER 24V | Нет в продаже |
|
| 31A | K1040112 | Motor, blower | Нет в продаже |
|
| 31B | 545-00003 | RESISTOR;BLOWER | Нет в продаже |
|
| 31C | 2544-6023 | RELAY 10A | Нет в продаже |
|
| 31D | 2544-6024 | RELAY 20A | Нет в продаже |
|
| 31E | 2538-6016 | MOTOR;INTAKE 24V | Нет в продаже |
|
| 31F | 2538-6017 | MOTOR;MIX 12V | Нет в продаже |
|
| 31G | 2471-6050A | FILTER;AIRCON | Нет в продаже |
|
| 31H | 2426-6048 | VALVE;STEM | Нет в продаже |
|
| 31I | 2547-6033 | SENSOR;TEMPERATURE | Нет в продаже |
|
| 31J | 2530-6005A | HARNESS;AIRCON UNIT | Нет в продаже |
|
| 31K | 2920-6111 | EVAPORATOR | Нет в продаже |
|
| 31L | 2920-6112 | HEATER CORE | Нет в продаже |
|
| 31M | 133-00161 | MAIN LEVER | Нет в продаже |
|
31
31
31A
31A
31B
31C
31D
31E
31E
31F
31G
31H
31I
31J
31K
31L
31M
Содержащиеся в справочниках-каталогах запасные части и детали носят исключительно информационный характер