Оригинальные каталоги
| № | Номер | Наименование | Цена | |
|---|---|---|---|---|
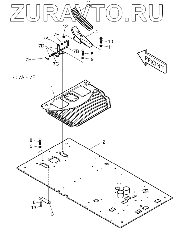
| 621-02077 | 621-02077 | FLOOR ASS'Y | Нет в продаже |
|
| 1 | 161-00448 | MAT;FLOOR | Нет в продаже |
|
| 2 | 621-02072A | PLATE;FLOOR | Нет в продаже |
|
| 2 | 621-02072B | PLATE;FLOOR | Нет в продаже |
|
| 3 | 621-01507 | PLATE;FLOOR | Нет в продаже |
|
| 4 | 195-01736 | BRACKET;PEDAL(R.H) | Нет в продаже |
|
| 5 | 161-00386 | RUBBER;PEDAL | Нет в продаже |
|
| 6 | 2114-1898D1 | WASHER | Нет в продаже |
|
| 7 | 195-01940 | BRACKET | Нет в продаже |
|
| 7A | 195-01937 | BRACKET | Нет в продаже |
|
| 7B | 133-00167 | BAR | Нет в продаже |
|
| 7C | 129-00144 | SPRING | Нет в продаже |
|
| 7D | 2114-1898D14 | WASHER | Нет в продаже |
|
| 7E | S5735351 | PIN;SPLIT | Нет в продаже |
|
| 7F | 160-00045 | BUSHING;RUBBER | Нет в продаже |
|
| 8 | 2120-2166D5 | BOLT M8X1.25X20 | Нет в продаже |
|
| 9 | 2114-1898D14 | WASHER | Нет в продаже |
|
| 10 | S2211866 | BOLT;SOCKET | Нет в продаже |
|
| 11 | S5110601 | WASHER;SPRING | Нет в продаже |
|
| 12 | 160-00045 | BUSHING;RUBBER | Нет в продаже |
|
| 13 | S0511653 | BOLT M10X1.5X16 | Нет в продаже |
|
621-02077
1
2
2
3
4
5
6
7
7A
7A
7B
7C
7D
7E
7F
7F
8
8
9
9
10
11
12
13
Содержащиеся в справочниках-каталогах запасные части и детали носят исключительно информационный характер