Оригинальные каталоги
| № | Номер | Наименование | Цена | |
|---|---|---|---|---|
| 420-00322C | 420-00322C | VALVE;OPTION | Нет в продаже |
|
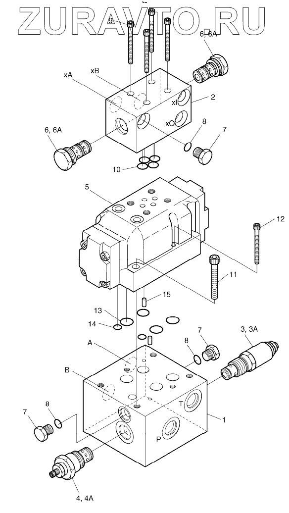
| 1 | K9000439 | BLOCK;MAIN | Нет в продаже |
|
| 2 | K9000440 | BLOCK;PILOT | Нет в продаже |
|
| 3 | K9000441 | VALVE;RELIEF | Нет в продаже |
|
| 3A | K9000442 | SEAL KIT | Нет в продаже |
|
| 4 | K9000443 | VALVE;FLOW CONTROL | Нет в продаже |
|
| 4A | K9000444 | SEAL KIT | Нет в продаже |
|
| 5 | K9000445 | VALVE;DIRECONT. | Нет в продаже |
|
| 6 | K9000446 | VALVE;SHUTTLE | Нет в продаже |
|
| 6A | K9000447 | SEAL KIT | Нет в продаже |
|
| 7 | 2181-1950D1 | PLUG | Нет в продаже |
|
| 8 | S8000111 | O-RING | Нет в продаже |
|
| 9 | K9000448 | BOLT;SOCKET | Нет в продаже |
|
| 10 | S8000091 | O-RING | Нет в продаже |
|
| 11 | S2212861 | BOLT;SOCKET | Нет в продаже |
|
| 12 | S2205761 | BOLT;SOCKET | Нет в продаже |
|
| 13 | 2180-1217D54 | O-RING | Нет в продаже |
|
| 14 | 2180-1217D13 | O-RING | Нет в продаже |
|
| 15 | S5740470 | PIN;SPRING | Нет в продаже |
|
1
2
3
3A
4
4A
5
6
6
6A
6A
7
7
7
8
8
8
9
10
11
12
13
14
15
Содержащиеся в справочниках-каталогах запасные части и детали носят исключительно информационный характер