Оригинальные каталоги
| № | Номер | Наименование | Цена | |
|---|---|---|---|---|
| 2480-9405В | 2480-9405В | JOINT, CENTER | Нет в продаже |
|
| 2480-9405ВКТ | 2480-9405ВКТ | SEAL KIT | Нет в продаже |
|
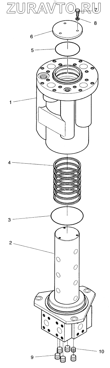
| 1 | 03С271-2 | BODY | Нет в продаже |
|
| 2 | 03С272-4 | SPINDLE | Нет в продаже |
|
| 3 | Е6301581 | O-RiNG | Нет в продаже |
|
| 4 | Е5430420 | SEAL.SLIPPER | Нет в продаже |
|
| 5 | Е6490049 | O-RING | Нет в продаже |
|
| 6 | 03С273-1 | COVER | Нет в продаже |
|
| 7 | Е0020335 | BOLT, HEXM8X1.25X16 | Нет в продаже |
|
| 8 | ЕЗ110092 | WASHER, SPRING | Нет в продаже |
|
| 9 | Е1500050 | PLUG PT3/4 | Нет в продаже |
|
| 10 | Е1500030 | PLUG PT3/8 | Нет в продаже |
|
2480-9405ВКТ
1
2
3
4
5
6
7
8
9
10
Содержащиеся в справочниках-каталогах запасные части и детали носят исключительно информационный характер