Оригинальные каталоги
| № | Номер | Наименование | Цена | |
|---|---|---|---|---|
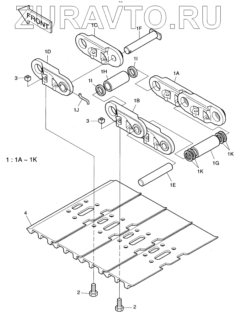
| 2272-6162D5 | 2272-6162D5 | TRACK SHOE ASSY | Нет в продаже |
|
| 1 | 2272-6143В | TRACK LINK ASSY | Нет в продаже |
|
| 1А | 2272-6144 | LINK | Нет в продаже |
|
| 1В | 2272-6145 | LINK | Нет в продаже |
|
| 1С | 2272-6135 | LINK, MASTER | Нет в продаже |
|
| 1D | 2272-6136 | LINK, MASTER | Нет в продаже |
|
| 1Е | 2123-6079А | .PIN | Нет в продаже |
|
| 1F | 2123-6080 | PIN, MASTER | Нет в продаже |
|
| 1G | 2110-6065В | BUSHING | Нет в продаже |
|
| 1Н | 2110-6066А | BUSHING, MASTER | Нет в продаже |
|
| 1I | 2271-6018 | COLLAR | Нет в продаже |
|
| 1J | 2123-6081 | PIN, SMALL | Нет в продаже |
|
| 1К | 2180-6077А | SEAL, DUST | Нет в продаже |
|
| 2 | 2120-6025 | BOLT, TRACK | Нет в продаже |
|
| 3 | 2121-6027 | NUT, TRACK | Нет в продаже |
|
| 4 | 2273-6058D1 | SHOE, TRACK | Нет в продаже |
|
1
1А
1А
1В
1С
1D
1Е
1F
1G
1Н
1I
1I
1J
1К
1К
1К
2
2
3
3
4
Содержащиеся в справочниках-каталогах запасные части и детали носят исключительно информационный характер