Оригинальные каталоги
| № | Номер | Наименование | Цена | |
|---|---|---|---|---|
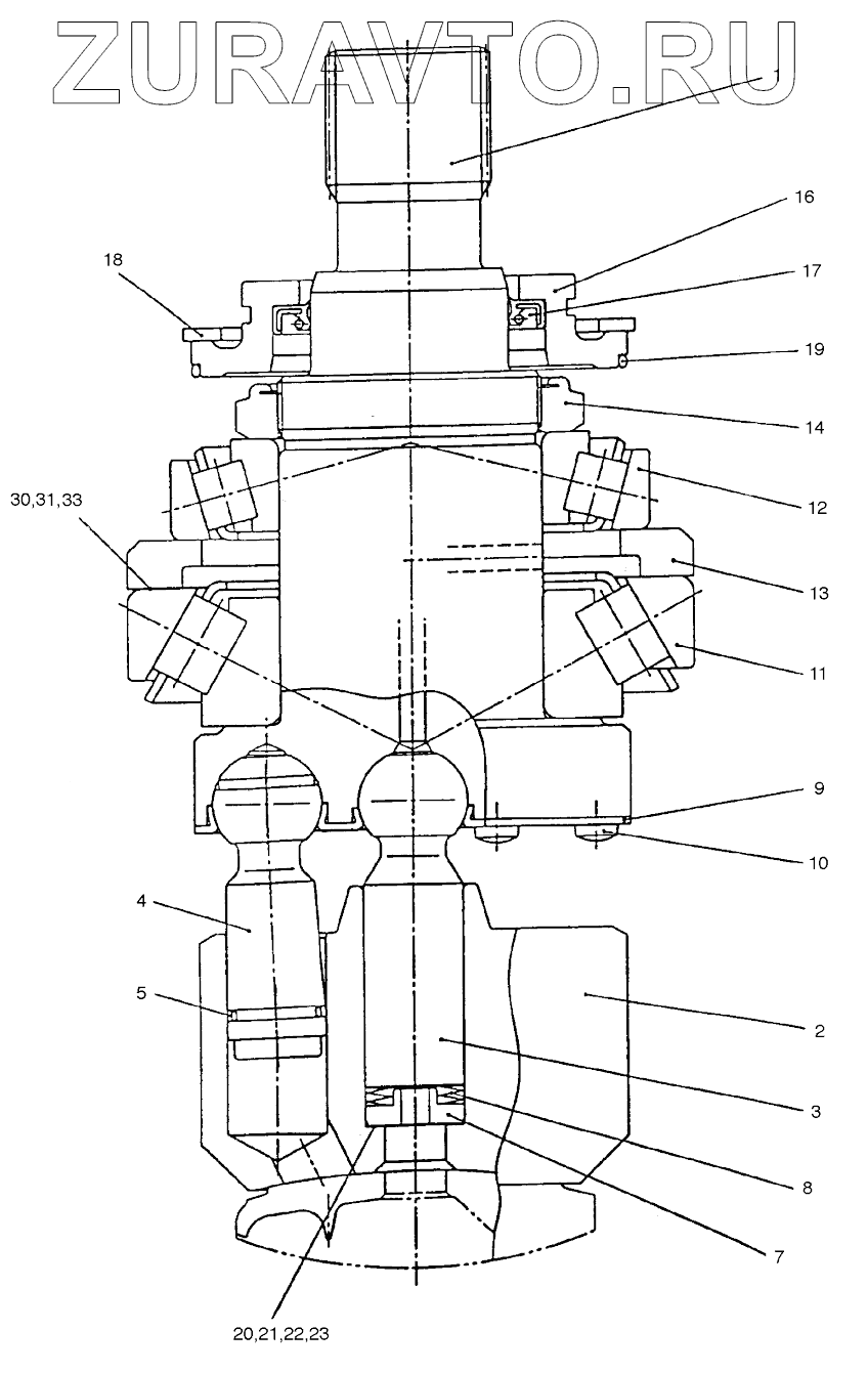
| 4100353967 | 4100353967 | Group, rotary | Нет в продаже |
|
| 1 | 1100345125 | Shaft | Нет в продаже |
|
| 2 | 1100218931 | Block, cylinder | Нет в продаже |
|
| 3 | 1100037439 | Pin, center | Нет в продаже |
|
| 4 | 1100349741 | Piston | Нет в продаже |
|
| 5 | 1708318958 | Ring, piston | Нет в продаже |
|
| 5 | 1100037411 | Ring, piston | Нет в продаже |
|
| 7 | 1100038569 | Spring, collar | Нет в продаже |
|
| 8 | 1100038579 | Spring, cup | Нет в продаже |
|
| 9 | 1700625744 | Plate | Нет в продаже |
|
| 9 | 1704447649 | Plate | Нет в продаже |
|
| 10 | 1701536177 | Bolt, socket | Нет в продаже |
|
| 11 | 1100293006 | Bearing | Нет в продаже |
|
| 12 | 1100292672 | Bearing | Нет в продаже |
|
| 13 | 1100292654 | Piece, distance | Нет в продаже |
|
| 14 | 1100292663 | Nut | Нет в продаже |
|
| 16 | 1163260007 | Case, seal | Нет в продаже |
|
| 17 | 1100018364 | Seal, oil | Нет в продаже |
|
| 18 | 1302173009 | Ring | Нет в продаже |
|
| 19 | 1300465003 | O-ring | Нет в продаже |
|
| 20 | 1100038258 | Shim | Нет в продаже |
|
| 21 | 1100038267 | Shim | Нет в продаже |
|
| 22 | 1100038276 | Shim | Нет в продаже |
|
| 23 | 1303037463 | Shim | Нет в продаже |
|
| 30 | 1100050441 | Shim | Нет в продаже |
|
| 31 | 1100050459 | Shim | Нет в продаже |
|
| 33 | 1100351643 | Shim | Нет в продаже |
|
4100353967
1
2
3
4
5
7
8
9
10
11
12
13
14
16
17
18
19
20
21
22
23
30
31
33
Содержащиеся в справочниках-каталогах запасные части и детали носят исключительно информационный характер