Оригинальные каталоги
| № | Номер | Наименование | Цена | |
|---|---|---|---|---|
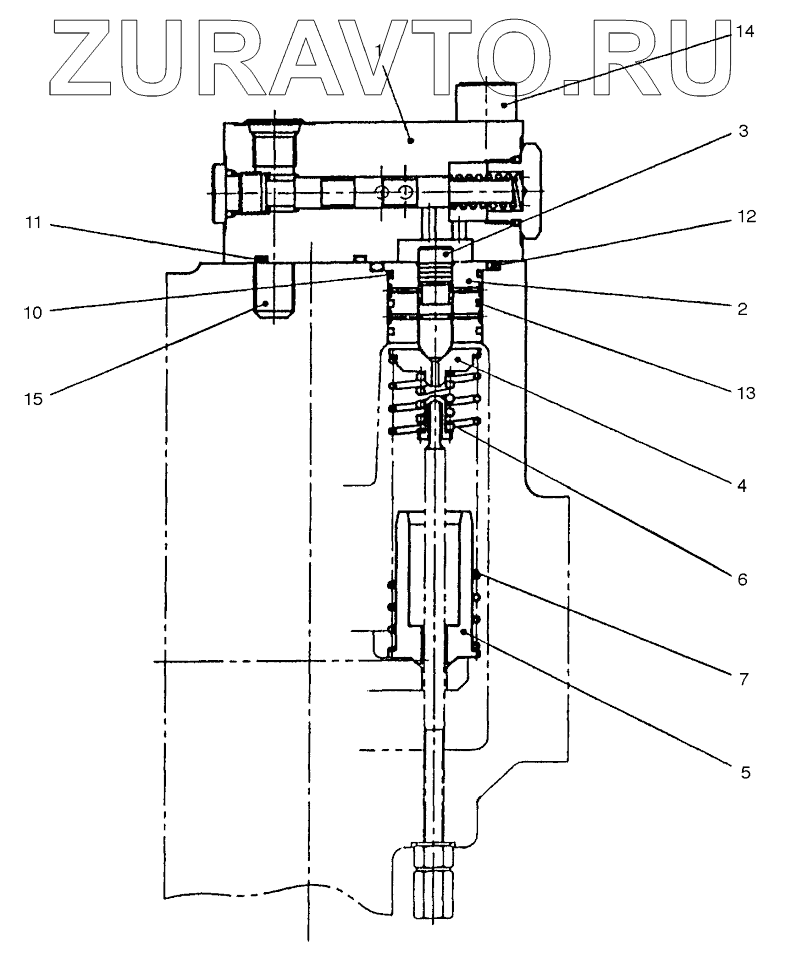
| 4100583819 | 4100583819 | Control assy | Нет в продаже |
|
| 1 | 4100568379 | Valve assy | Нет в продаже |
|
| 2 | 1100436258 | Valve | Нет в продаже |
|
| 3 | 1100417523 | Spool | Нет в продаже |
|
| 4 | 1700707644 | Spring | Нет в продаже |
|
| 5 | 1100176396 | Spring | Нет в продаже |
|
| 6 | 1700736734 | Spring | Нет в продаже |
|
| 7 | 1100220998 | Spring | Нет в продаже |
|
| 10 | 1300070009 | O-ring | Нет в продаже |
|
| 11 | 1300182001 | O-ring | Нет в продаже |
|
| 12 | 1300366007 | O-ring | Нет в продаже |
|
| 13 | 1700879547 | Ring, piston | Нет в продаже |
|
| 14 | 1301617003 | Bolt, lock | Нет в продаже |
|
| 15 | 1301616009 | Bolt, lock | Нет в продаже |
|
1
2
3
4
5
6
7
10
11
12
13
14
15
Содержащиеся в справочниках-каталогах запасные части и детали носят исключительно информационный характер