Оригинальные каталоги
| № | Номер | Наименование | Цена | |
|---|---|---|---|---|
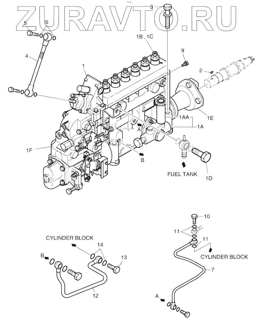
| 1 | 65.11101-7372A | INJECTION PUMP | Нет в продаже |
|
| 1 | 400912-00064 | PUMP,INJECTION | Нет в продаже |
|
| 1A | 105207-154A | PUMP,FEED | Нет в продаже |
|
| 1AA | 400908-00004 | Hand priming pump | Нет в продаже |
|
| 1B | 134160-7120 | DELIVERY VALVE | Нет в продаже |
|
| 1C | 134151-9020 | PLUNGER | Нет в продаже |
|
| 1D | 131424-4420 | VALVE, OVER FLOW | Нет в продаже |
|
| 1E | 65.11305-6004 | COUPLING | Нет в продаже |
|
| 1F | 105407-7590 | GOVERNOR | Нет в продаже |
|
| 2 | 06.29141-0215 | KEY, WOODRUFF | Нет в продаже |
|
| 3 | 06.01923-3228 | Bolt | Нет в продаже |
|
| 4 | 65.08301-6012 | AIR HOSE ASSY | Нет в продаже |
|
| 5 | 65.98150-0053B | SCREW;HOLLOW | Нет в продаже |
|
| 6 | 06.56180-0714 | RING;SEAL | Нет в продаже |
|
| 7 | 65.05701-5313 | PIPE, OIL | Нет в продаже |
|
| 9 | 06.01923-2910 | BOLT ASSY | Нет в продаже |
|
| 10 | 65.98150-0050 | SCREW, HOLLOW | Нет в продаже |
|
| 11 | 06.56180-0714 | RING;SEAL | Нет в продаже |
|
| 12 | 65.05701-5624 | PIPE, OIL | Нет в продаже |
|
| 13 | 06.78144-2204 | Screw | Нет в продаже |
|
| 14 | 06.56190-0706 | Ring | Нет в продаже |
|
1
1
1A
1AA
1B
1C
1D
1E
1F
2
3
4
5
6
7
9
10
11
11
12
13
14
Содержащиеся в справочниках-каталогах запасные части и детали носят исключительно информационный характер