Оригинальные каталоги
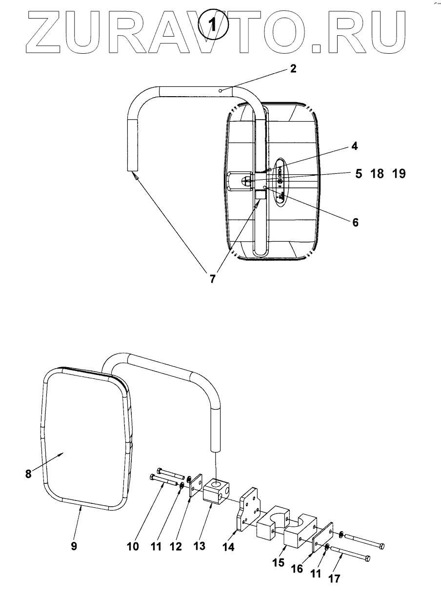
| № | Номер | Наименование | Цена | |
|---|---|---|---|---|
| 1 | 4700393204 | Rear mirror | Нет в продаже |
|
| 2 | 4700359661 | Arm | Нет в продаже |
|
| 4 | Bushing | Bushing | Нет в продаже |
|
| 5 | 4700500023 | Screw | Нет в продаже |
|
| 6 | Clamp | Clamp | Нет в продаже |
|
| 7 | 4700900519 | Plug | Нет в продаже |
|
| 8 | 4700393206 | Edge trim | Нет в продаже |
|
| 9 | 4700903722 | Mirror glass | Нет в продаже |
|
| 10 | 4700500079 | Screw | Нет в продаже |
|
| 11 | 4700904228 | Steel plain washer | Нет в продаже |
|
| 12 | 4700791454 | Cover plate | Нет в продаже |
|
| 13 | 4700791453 | Pipe clamp block | Нет в продаже |
|
| 14 | 4812118000 | Bracket | Нет в продаже |
|
| 15 | 4700904340 | Pipe clamp | Нет в продаже |
|
| 16 | 4700924791 | Cover plate | Нет в продаже |
|
| 17 | 4700500292 | Screw | Нет в продаже |
|
| 18 | 4700904229 | Washer | Нет в продаже |
|
| 19 | 4700904203 | Nut protection | Нет в продаже |
|
1
2
4
5
6
7
8
9
10
11
11
12
13
14
15
16
17
18
19
Содержащиеся в справочниках-каталогах запасные части и детали носят исключительно информационный характер