Оригинальные каталоги
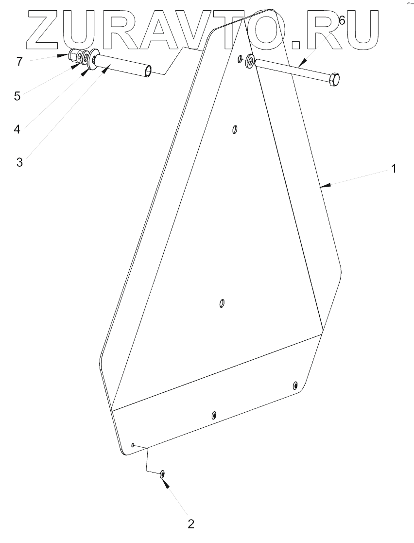
| № | Номер | Наименование | Цена | |
|---|---|---|---|---|
| 1 | 4700476019 | SMV-sign | Нет в продаже |
|
| 2 | 4700624011 | Pop rivet | Нет в продаже |
|
| 3 | 4700392160 | Spacer sleeve | Нет в продаже |
|
| 4 | 4700928381 | Washer | Нет в продаже |
|
| 5 | 4700904228 | Steel plain washer | Нет в продаже |
|
| 6 | 4700500292 | Screw | Нет в продаже |
|
| 7 | 4700586002 | Lock nut | Нет в продаже |
|
1
2
3
4
5
6
7
Содержащиеся в справочниках-каталогах запасные части и детали носят исключительно информационный характер