Оригинальные каталоги
| № | Номер | Наименование | Цена | |
|---|---|---|---|---|
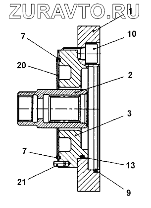
| 1 | Intermediate flange | Intermediate flange | Нет в продаже |
|
| 2 | Through drive coupling | Through drive coupling | Нет в продаже |
|
| 3 | 4812158771 | Seal ring | Нет в продаже |
|
| 7 | 4812157865 | Seal ring | Нет в продаже |
|
| 9 | 4812157482 | O-ring | Нет в продаже |
|
| 10 | Socket head screw | Socket head screw | Нет в продаже |
|
| 13 | 4812157852 | O-ring | Нет в продаже |
|
| 20 | Bearing cover | Bearing cover | Нет в продаже |
|
| 21 | Cylinder pin | Cylinder pin | Нет в продаже |
|
1
2
3
7
7
9
10
13
20
21
Содержащиеся в справочниках-каталогах запасные части и детали носят исключительно информационный характер