Назад

Оригинальные каталоги

zoom-in zoom-out enlarge shrink circle-right circle-left file-text2 info cart
Номер Наименование Цена
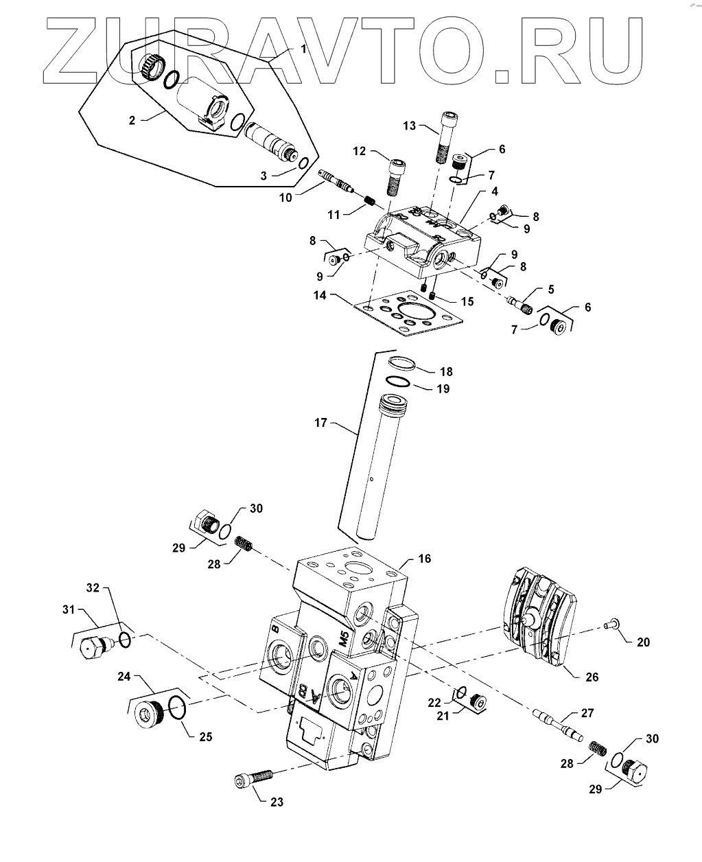
1 4812157074 Solenoid On/off Нет в продаже
2 4812157075 Coil kit Нет в продаже
3 O-ring O-ring Нет в продаже
4 Controlhousing Control housing Нет в продаже
5 4812156999 Shuttle valve assembly Нет в продаже
6 Plug Plug connector see engine Gr. 9 Нет в продаже
7 O-ring O-ring Нет в продаже
8 Plug Plug connector see engine Gr. 9 Нет в продаже
9 O-ring O-ring Нет в продаже
10 4812157051 Spool Нет в продаже
11 4812157052 Spring Нет в продаже
12 Screw Screw Нет в продаже
13 Screw Screw Нет в продаже
14 4812157053 Control seal Нет в продаже
15 Orificeplug Orifice plug Нет в продаже
16 Endcap End cap Нет в продаже
17 4812158270 Servo piston Нет в продаже
18 Pistonring Piston ring Нет в продаже
19 O-ring O-ring Нет в продаже
20 Buttonheadscrew Button head screw Нет в продаже
21 Plug Plug connector see engine Gr. 9 Нет в продаже
22 O-ring O-ring Нет в продаже
23 Screw Screw Нет в продаже
24 Plug Plug connector see engine Gr. 9 Нет в продаже
25 O-ring O-ring Нет в продаже
26 4812158271 Valve segment assembly Нет в продаже
27 4812157060 Spool Нет в продаже
28 4812157061 Spring Нет в продаже
29 Plug Plug connector see engine Gr. 9 Нет в продаже
30 O-ring O-ring Нет в продаже
31 4812157062 Loop flushing relief valve Нет в продаже
32 4812157063 O-ring Нет в продаже
1
2
3
4
5
6
6
7
7
8
8
8
9
9
9
10
11
12
13
14
15
16
17
18
19
20
21
22
23
24
25
26
27
28
28
29
29
30
30
31
32
100%
Содержащиеся в справочниках-каталогах запасные части и детали носят исключительно информационный характер