Оригинальные каталоги
| № | Номер | Наименование | Цена | |
|---|---|---|---|---|
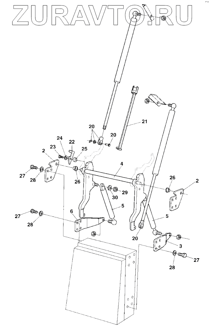
| 2 | 374592 | Holder | Нет в продаже |
|
| 3 | 374589 | Lever, right | Нет в продаже |
|
| 4 | 374585 | Lever | Нет в продаже |
|
| 5 | 904409 | Gas spring | Нет в продаже |
|
| 6 | 374590 | Lever, left | Нет в продаже |
|
| 20 | 416404 | Fork head with ES-bolt | Нет в продаже |
|
| 21 | 382558 | Safety rod | Нет в продаже |
|
| 22 | 374591 | Lock | Нет в продаже |
|
| 23 | 500029 | Screw | Нет в продаже |
|
| 24 | 904230 | Washer 10,5x22x2 | Нет в продаже |
|
| 25 | 371767 | Spacer | Нет в продаже |
|
| 26 | 904407 | Flange bearing | Нет в продаже |
|
| 27 | 500022 | Screw | Нет в продаже |
|
| 28 | 904229 | Washer 8,4x16x1,5 | Нет в продаже |
|
| 29 | 904563 | Lock nut | Нет в продаже |
|
| 30 | 904228 | Washer 6,4x12x1,5 | Нет в продаже |
|
2
2
3
4
5
5
6
20
20
20
21
22
23
24
25
26
26
27
27
27
28
28
28
29
30
Содержащиеся в справочниках-каталогах запасные части и детали носят исключительно информационный характер