Оригинальные каталоги
| № | Номер | Наименование | Цена | |
|---|---|---|---|---|
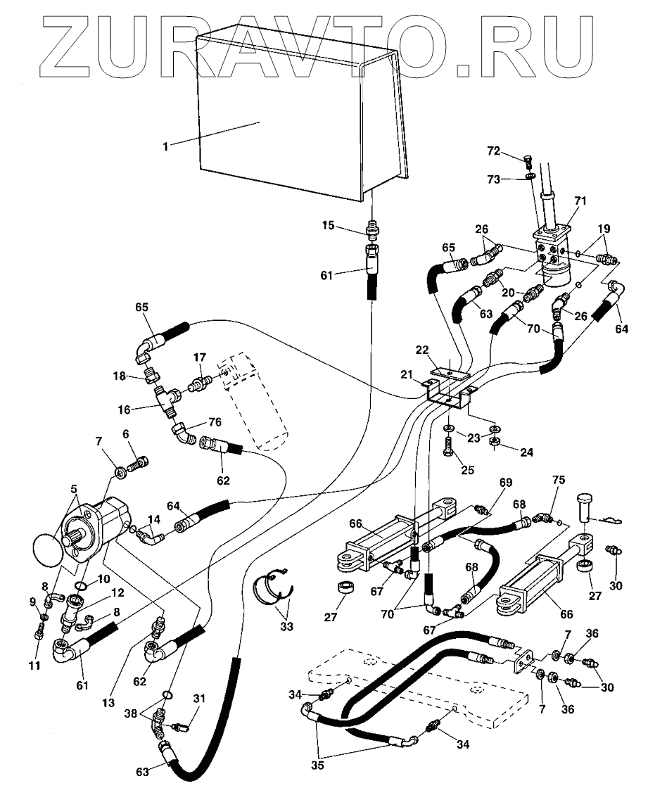
| 1 | Hydraulicoiltank | Hydraulic oil tank | Нет в продаже |
|
| 1 | Hydraulicoiltank | Hydraulic oil tank | Нет в продаже |
|
| 5 | 387407 | Steering pump | Нет в продаже |
|
| 6 | 500463 | Screw | Нет в продаже |
|
| 7 | 904638 | Washer 12x22x2 | Нет в продаже |
|
| 8 | 232097 | Flange half | Нет в продаже |
|
| 9 | 904637 | Washer 10x18x2 | Нет в продаже |
|
| 10 | 904005 | O-ring | Нет в продаже |
|
| 11 | 508029 | Screw | Нет в продаже |
|
| 12 | 372625 | Connector | Нет в продаже |
|
| 13 | 334158 | Adapter | Нет в продаже |
|
| 14 | 334203 | Elbow 90, O-ring | Нет в продаже |
|
| 15 | 234626 | Adapter | Нет в продаже |
|
| 16 | 234900 | T-connector | Нет в продаже |
|
| 17 | 334468 | Adapter | Нет в продаже |
|
| 18 | 234667 | Reducer | Нет в продаже |
|
| 19 | 334143 | Straight connector | Нет в продаже |
|
| 20 | 334121 | Adapter | Нет в продаже |
|
| 21 | 372513 | Hose clamp | Нет в продаже |
|
| 22 | 372514 | Hose clamp | Нет в продаже |
|
| 23 | 904229 | Washer 8,4x16x1,5 | Нет в продаже |
|
| 24 | 586003 | Lock nut M8 | Нет в продаже |
|
| 25 | 500023 | Screw | Нет в продаже |
|
| 26 | 813500 | Elbow 45, O-ring | Нет в продаже |
|
| 27 | 813316 | Ball bushing | Нет в продаже |
|
| 30 | 926214 | Grease fitting | Нет в продаже |
|
| 31 | 910161 | Measuring nipple | Нет в продаже |
|
| 33 | 313102 | Cable ties | Нет в продаже |
|
| 34 | 371669 | Straight connector | Нет в продаже |
|
| 35 | 903812 | Hydraulic hose | Нет в продаже |
|
| 36 | 903831 | Nut | Нет в продаже |
|
| 38 | 388061 | Adapter | Нет в продаже |
|
| 61 | 483614 | Hydraulic hose | Нет в продаже |
|
| 62 | 482767 | Hydraulic hose | Нет в продаже |
|
| 63 | 482435 | Hydraulic hose | Нет в продаже |
|
| 64 | 483615 | Hydraulic hose | Нет в продаже |
|
| 65 | 483061 | Hydraulic hose | Нет в продаже |
|
| 66 | 375031 | Hydraulic cylinder | Нет в продаже |
|
| 66 | 392002 | Steering cylinder | Нет в продаже |
|
| 67 | 234218 | Connector | Нет в продаже |
|
| 68 | 483109 | Hydraulic hose | Нет в продаже |
|
| 69 | 334121 | Adapter | Нет в продаже |
|
| 70 | 483026 | Hydraulic hose | Нет в продаже |
|
| 71 | 372424 | Pilot valve | Нет в продаже |
|
| 72 | 502034 | Screw | Нет в продаже |
|
| 73 | 904230 | Washer 10,5x22x2 | Нет в продаже |
|
| 75 | 813500 | Elbow 45, O-ring | Нет в продаже |
|
| 76 | 334248 | Elbow 45 | Нет в продаже |
|
1
1
5
6
7
7
7
8
8
9
10
11
12
13
14
15
16
17
18
19
20
21
22
23
24
25
26
26
27
27
30
30
31
33
34
34
35
36
36
38
61
61
62
62
63
63
64
64
65
66
66
66
66
66
66
67
67
68
68
69
70
70
71
72
73
75
76
Содержащиеся в справочниках-каталогах запасные части и детали носят исключительно информационный характер