Оригинальные каталоги
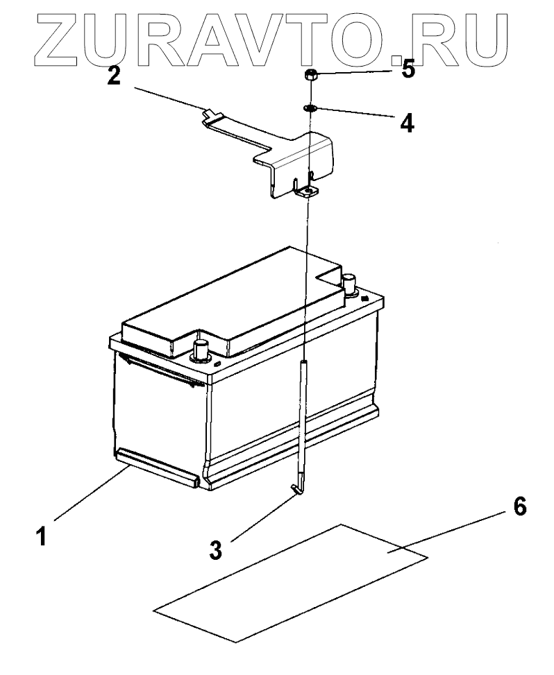
| № | Номер | Наименование | Цена | |
|---|---|---|---|---|
| 1 | Battery | Battery module | Нет в продаже |
|
| 2 | 4812123035 | Battery holder | Нет в продаже |
|
| 3 | 4700396635 | Battery screw | Нет в продаже |
|
| 4 | 4700904229 | Washer | Нет в продаже |
|
| 5 | 4700586003 | Hexagon lock nut | Нет в продаже |
|
| 6 | 4700355608 | Slip protection | Нет в продаже |
|
1
2
3
4
5
6
Содержащиеся в справочниках-каталогах запасные части и детали носят исключительно информационный характер