Назад

Оригинальные каталоги

zoom-in zoom-out enlarge shrink circle-right circle-left file-text2 info cart
Номер Наименование Цена
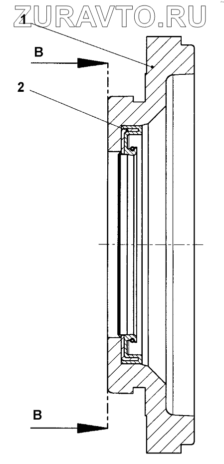
1 Cover Cover Нет в продаже
2 4700937264 Seal ring Нет в продаже
1
2
100%
Содержащиеся в справочниках-каталогах запасные части и детали носят исключительно информационный характер