Оригинальные каталоги
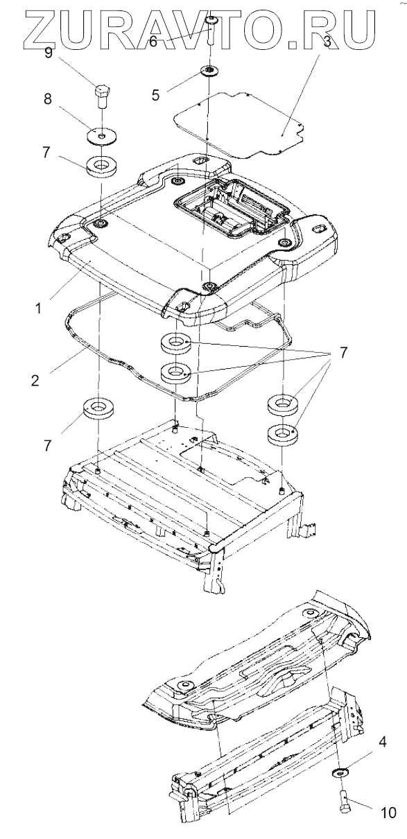
| № | Номер | Наименование | Цена | |
|---|---|---|---|---|
| 1 | Heater | Heater module | Нет в продаже |
|
| 2 | 4812115164 | Rubber strip | Нет в продаже |
|
| 3 | 4812115165 | AC hood | Нет в продаже |
|
| 4 | 4700601003 | Washer | Нет в продаже |
|
| 5 | 4812120255 | Washer | Нет в продаже |
|
| 6 | 4812162571 | Screw | Нет в продаже |
|
| 7 | 4812115170 | Seal washer | Нет в продаже |
|
| 8 | 4812115171 | Washer | Нет в продаже |
|
| 9 | 4812162572 | Hexagon screw | Нет в продаже |
|
| 10 | 4700947680 | Hexagon head screw m | Нет в продаже |
|
1
2
3
4
5
6
7
7
7
8
9
10
Содержащиеся в справочниках-каталогах запасные части и детали носят исключительно информационный характер