Оригинальные каталоги
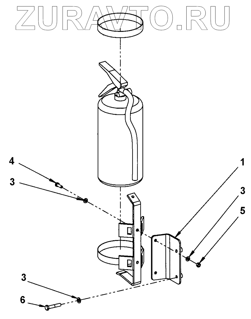
| № | Номер | Наименование | Цена | |
|---|---|---|---|---|
| 1 | 4812114804 | Bracket | Нет в продаже |
|
| 3 | 4700904229 | Washer | Нет в продаже |
|
| 4 | 4700500021 | Hex. screw | Нет в продаже |
|
| 5 | 4700570005 | Hex. nut | Нет в продаже |
|
| 6 | 4700500024 | Screw | Нет в продаже |
|
1
3
3
3
4
5
6
Содержащиеся в справочниках-каталогах запасные части и детали носят исключительно информационный характер